授权公布号:CN217836700U
肉类冷链运输过程中气调包装设备
有效
申请
2022-06-08
申请公布
1970-01-01
授权
2022-11-18
预估到期
2032-06-08
| 申请号 | CN202221420053.5 |
| 申请日 | 2022-06-08 |
| 授权公布号 | CN217836700U |
| 授权公告日 | 2022-11-18 |
| 分类号 | B65D25/52;A61L2/08;B65D81/07;B65D53/00 |
| 分类 | 输送;包装;贮存;搬运薄的或细丝状材料; |
| 申请人名称 | 广东雪印集团有限公司 |
| 申请人地址 | 广东省韶关市武江区沐溪工业园沐溪大道205号标准厂房D幢3楼304(自编) |
专利法律状态
2022-11-18
授权
状态信息
授权
摘要
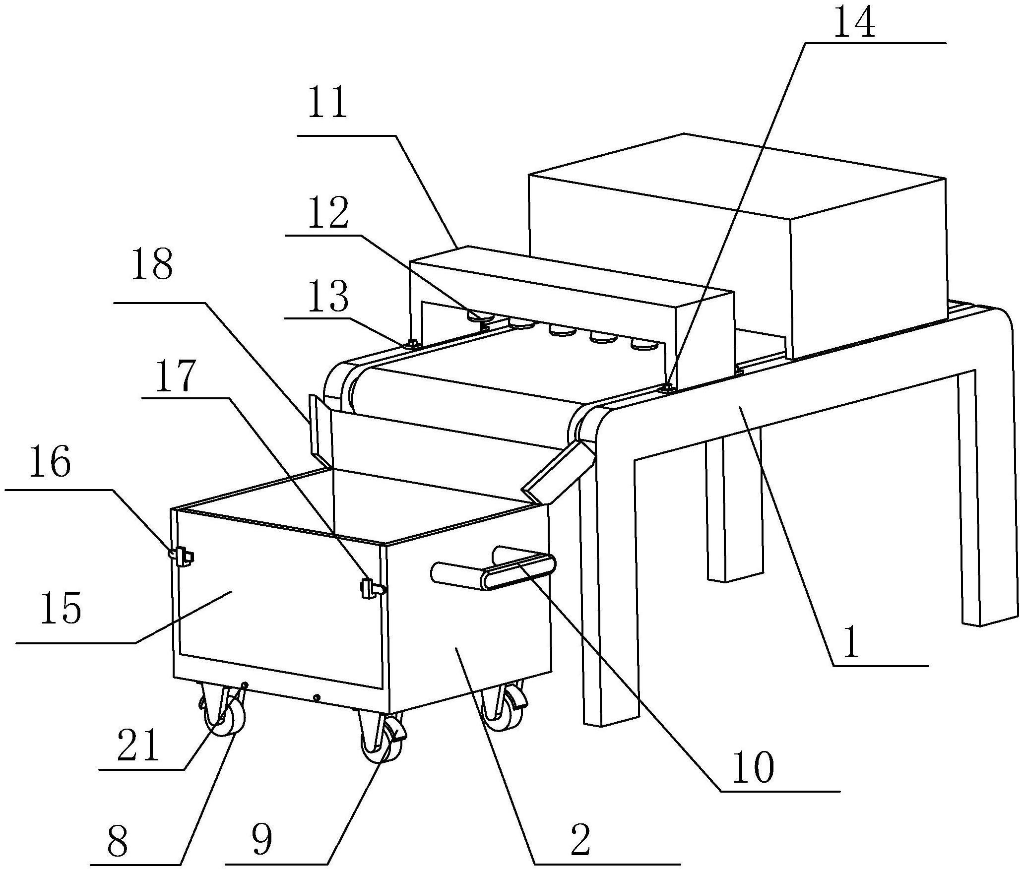
本申请公开了肉类冷链运输过程中气调包装设备,涉及冷链运输设备的技术领域,包括机架,所述机架的一侧设置有收集盒,所述收集盒的内部底端固定安装有伸缩杆,所述伸缩杆的外侧套设有弹簧,所述伸缩杆的伸缩端固定安装有托板,所述收集盒的内壁相对一侧均开设有滑槽,所述托板的两侧均固定安装滑块,所述滑块在所述滑槽内滑动,所述收集盒的一侧转动安装有活动门,所述活动门的一侧固定安装有卡板,所述收集盒靠近所述活动门的两侧转动安装有活动销。本申请所述的肉类冷链运输过程中气调包装设备,结构简单,使用方便,连接性强,方便对包装后的盒体进行收集,降低工作人员的劳动强度,具有消毒杀菌的效果,提高安全性。


