授权公布号:CN213079038U
一种新型农产品自动化分拣装置
有效
申请
2020-09-01
申请公布
1970-01-01
授权
2021-04-30
预估到期
2030-09-01
| 申请号 | CN202021884352.5 |
| 申请日 | 2020-09-01 |
| 授权公布号 | CN213079038U |
| 授权公告日 | 2021-04-30 |
| 分类号 | B07B1/14;B07B1/42;B07B1/46 |
| 分类 | 将固体从固体中分离;分选; |
| 申请人名称 | 广东雪印集团有限公司 |
| 申请人地址 | 广东省韶关市武江区沐溪工业园沐溪大道205号标准厂房D幢3楼304 |
专利法律状态
2021-04-30
授权
状态信息
授权
摘要
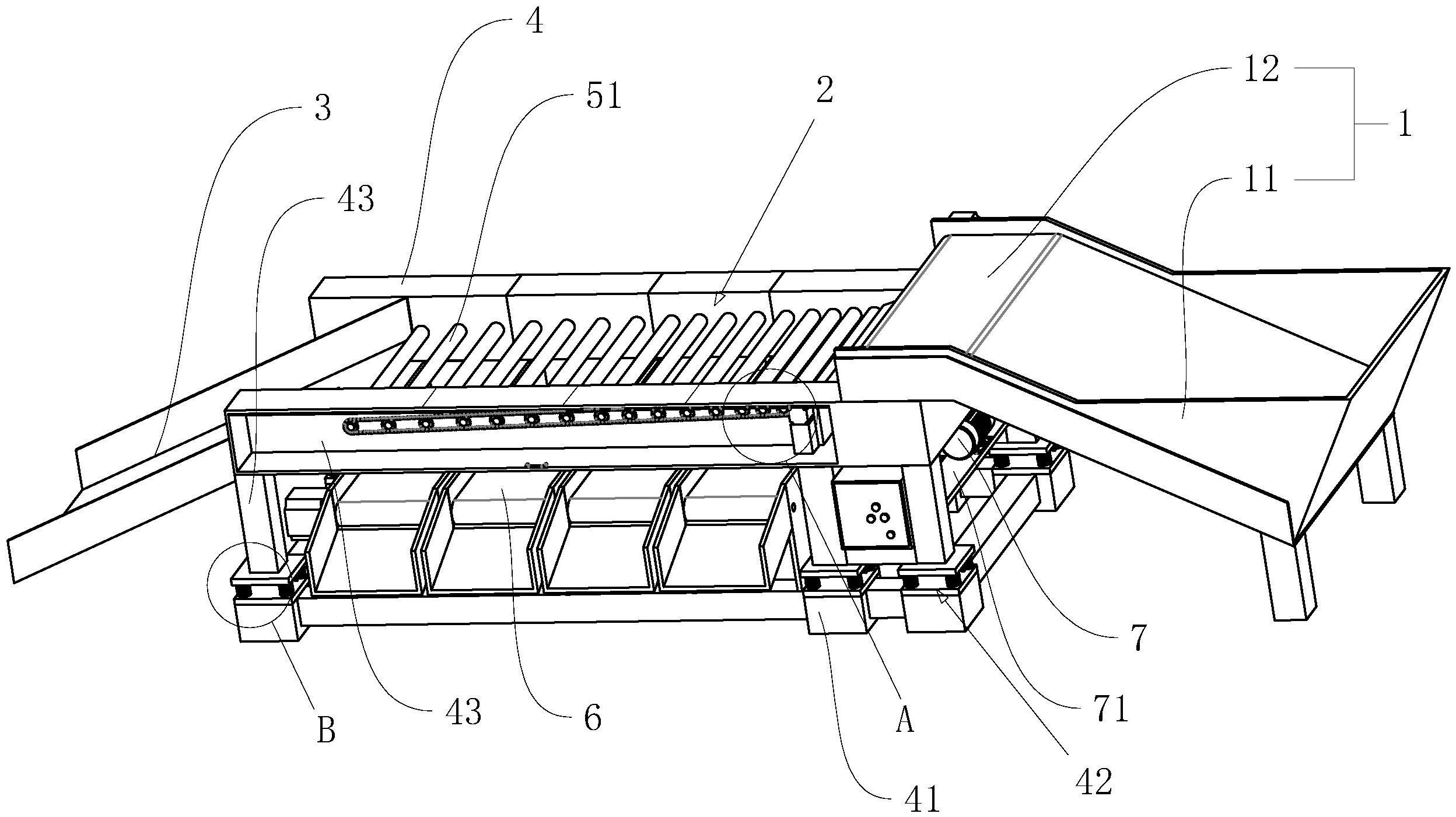
本申请涉及一种新型农产品自动化分拣装置,其包括分选装置,所述分选装置的一端设置有上料装置且另一端设置有收集装置,所述分选装置包括机架,所述机架上设有若干依次连接的分选带,所述分选带内设置有若干均匀排列且相互平行的传动辊,所述分选带的传动辊间隙自上料装置至收集装置的方向依次增大,所述机架固定有若干与分选带对应的传送带,所述传送带位于分选带下方,所述机架上固定有振动电机,所述分选装置靠近上料装置的一端水平高度较高。本申请具有使得土豆依次从相应大小的传动辊间隙掉落,实现土豆的分拣,分拣效率较高的效果。


