授权公布号:CN215182057U
一种基于5G边缘计算技术的人脸识别设备
有效
申请
2021-07-02
申请公布
1970-01-01
授权
2021-12-14
预估到期
2031-07-02
| 申请号 | CN202121516274.8 |
| 申请日 | 2021-07-02 |
| 授权公布号 | CN215182057U |
| 授权公告日 | 2021-12-14 |
| 分类号 | G06K9/00;G06K9/20;G06F9/50 |
| 分类 | 计算;推算;计数; |
| 申请人名称 | 中海物业管理有限公司 |
| 申请人地址 | 广东省深圳市南山区粤海街道高新区社区科苑南路3156号深圳湾创新科技中心2栋A座501-509 |
专利法律状态
2022-10-25
专利申请权、专利权的转移
状态信息
专利权的转移;IPC(主分类):G06K9/00;登记生效日:20221011;变更事项:专利权人;变更前:中海物业管理有限公司;变更后:中海物业管理有限公司;变更事项:地址;变更前:518000 广东省深圳市南山区高新技术产业园南区科技南八道豪威科技大厦7A;变更后:518000 广东省深圳市南山区粤海街道高新区社区科苑南路3156号深圳湾创新科技中心2栋A座501-509;变更事项:专利权人;变更前:深圳市海潮智汇数字科技有限公司
2021-12-14
授权
状态信息
授权
摘要
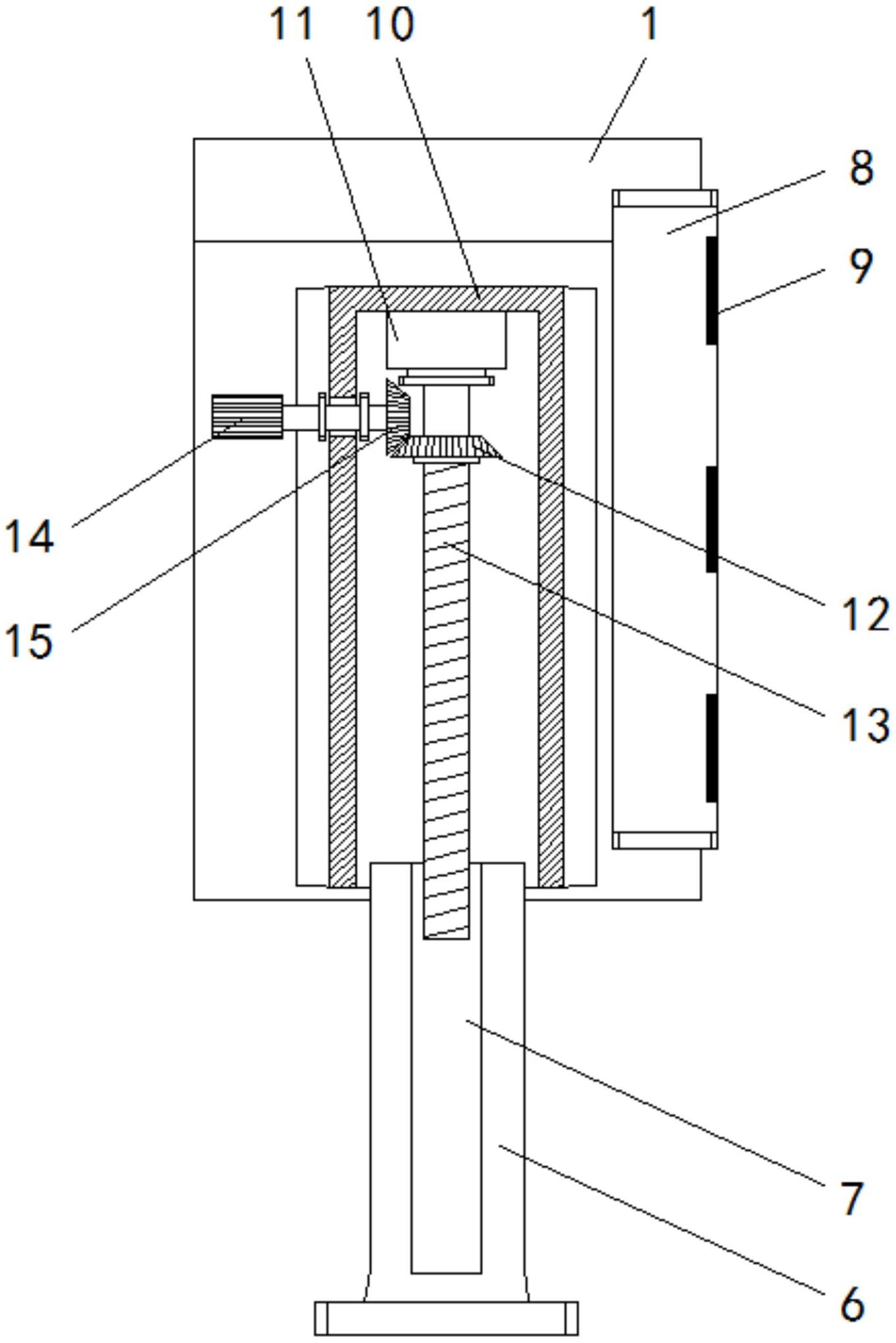
本实用新型涉及一种基于5G边缘计算技术的人脸识别设备,包括设备外壳体、补光灯、识别摄像头、人体红外镜头和显示屏,所述设备外壳体上设置有调节组件,所述调节组件包括设置于设备外壳体背面的握持手柄、安装于设备外壳体上的接线板、安装于设备外壳体背面的调节套、设置于调节套内顶壁上的限位环、转动安装于限位环下的齿轮杆、安装于齿轮杆下表面的螺纹调节杆,所述调节组件还包括手持转轴和纵向齿轮。该基于5G边缘计算技术的人脸识别设备,其整体结构精简,且其在使用时存储安全性好,同时具备可靠的使用便捷性,并且,可对该设备进行相应微调来方便使用,从而有效的解决了目前人脸识别机在使用时安全稳定性不足,且操作使用不方便的问题。


