授权公布号:CN112837954B
一种洗地机的开关触发机构
有效
申请
2020-12-30
申请公布
2021-05-25
授权
2023-03-07
预估到期
2040-12-30
| 申请号 | CN202011608807.5 |
| 申请日 | 2020-12-30 |
| 申请公布号 | CN112837954A |
| 申请公布日 | 2021-05-25 |
| 授权公布号 | CN112837954B |
| 授权公告日 | 2023-03-07 |
| 分类号 | H01H13/02;H01H13/14 |
| 分类 | 基本电气元件; |
| 申请人名称 | 碧桂园生活服务集团股份有限公司 |
| 申请人地址 | 广东省佛山市顺德区北滘镇碧桂园大道1号405、307、203室、9楼展馆 |
专利法律状态
2023-03-07
授权
状态信息
授权
2021-05-25
公布
状态信息
公布
摘要
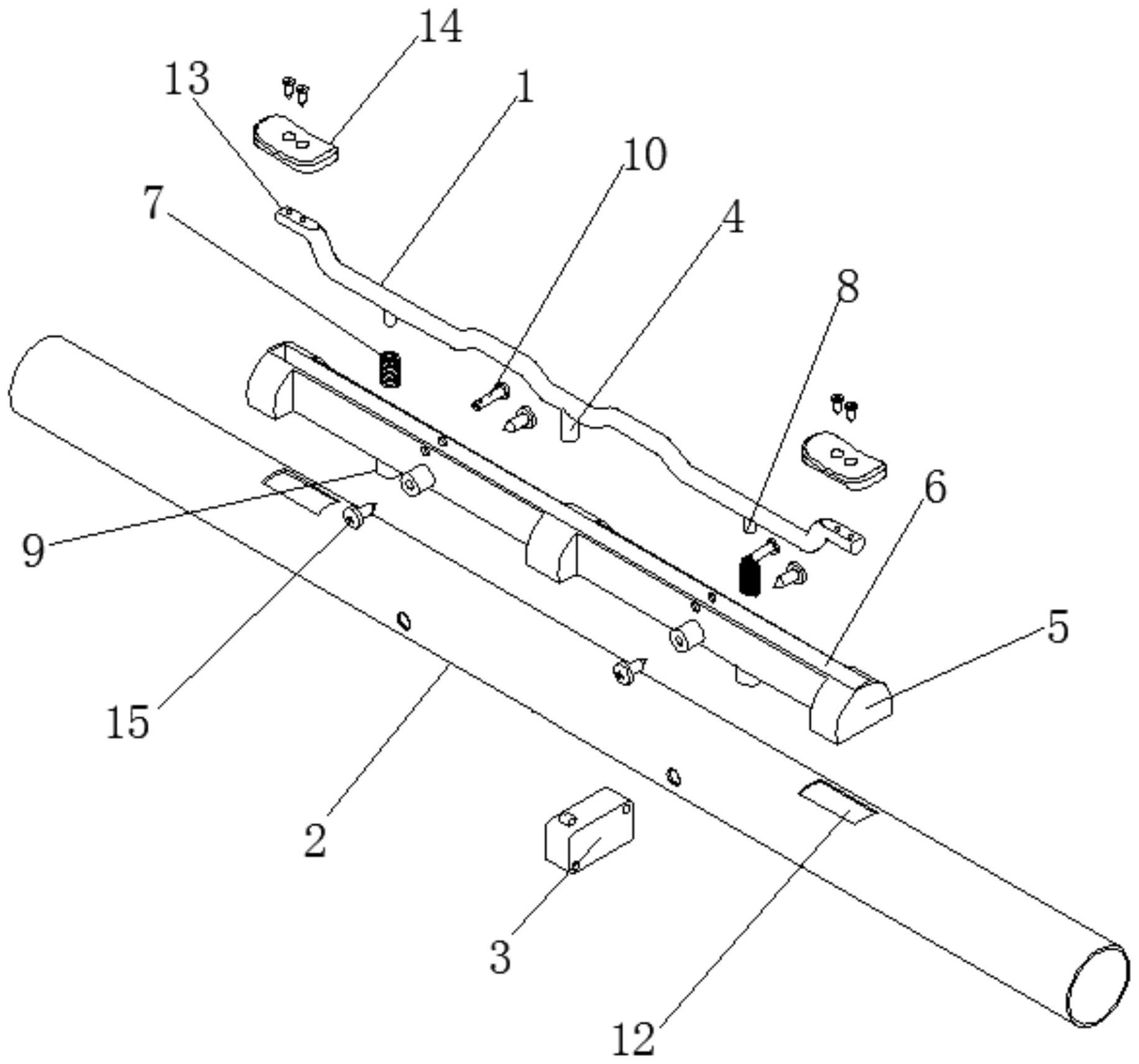
本发明公开了一种洗地机的开关触发机构,属于触发机构领域,解决传统洗地机触发机构占用空间大、握杆受力不均匀而导致复位困难的问题。改触发机构包括握杆和握把,所述的握杆活动插接在握把内,所述握杆的两端与握把之间均设有弹性组件,两个所述弹性组件之间的握杆底部设有与微动开关位置相对应的触发杆。本发明的洗地机的开关触发机构,使得握杆受力均匀,保证握杆回位,可应用于需单手或双手触发微动开关的产品上。


