授权公布号:CN214965167U
一种带弹簧减震的吸水扒
有效
申请
2020-12-30
申请公布
1970-01-01
授权
2021-12-03
预估到期
2030-12-30
| 申请号 | CN202023273705.0 |
| 申请日 | 2020-12-30 |
| 授权公布号 | CN214965167U |
| 授权公告日 | 2021-12-03 |
| 分类号 | A47L11/40 |
| 分类 | 家具;家庭用的物品或设备;咖啡磨;香料磨;一般吸尘器; |
| 申请人名称 | 碧桂园生活服务集团股份有限公司 |
| 申请人地址 | 广东省佛山市顺德区北滘镇碧桂园大道1号405、307、203室、9楼展馆 |
专利法律状态
2021-12-03
授权
状态信息
授权
摘要
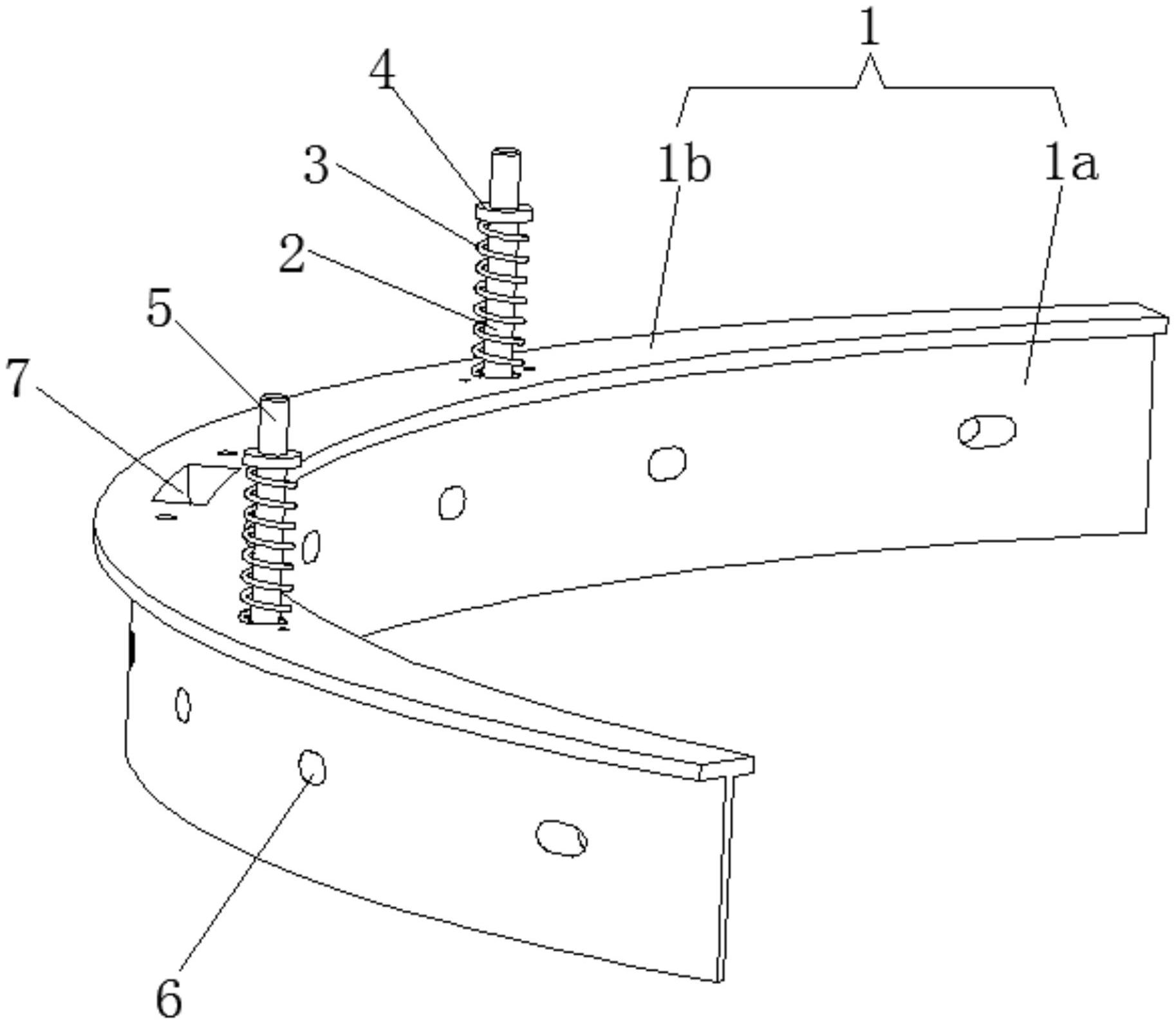
本实用新型公开了一种带弹簧减震的吸水扒,属于吸水扒领域,解决传统吸水扒固定安装的方式而导致遇到不规则地面容易出现侧漏、吸不干净无水的问题。该吸水扒包括吸水扒本体,所述的吸水扒本体上还集成设置有至少一个弹簧减震器,所述的弹簧减震器包括导向柱和弹簧,所述导向柱的一端活动插接在吸水扒本体上,另一端设有限位块,所述的弹簧套设在吸水扒本体与限位块之间的导向柱上,且所述的弹簧两端分别反顶吸水扒本体和限位块。本实用新型的带弹簧减震的吸水扒,让吸水扒相对地面始终保持一定力度,提高密封性和适应地面的能力。


