授权公布号:CN212160857U
一种智能楼宇用消防警示装置
有效
申请
2020-05-31
申请公布
1970-01-01
授权
2020-12-15
预估到期
2030-05-31
| 申请号 | CN202020955845.7 |
| 申请日 | 2020-05-31 |
| 授权公布号 | CN212160857U |
| 授权公告日 | 2020-12-15 |
| 分类号 | G08B7/06 |
| 分类 | 信号装置; |
| 申请人名称 | 长城物业集团股份有限公司 |
| 申请人地址 | 广东省深圳市龙岗区坂田街道环城南路5号坂田国际中心C2栋9楼、10楼 |
专利法律状态
2020-12-15
授权
状态信息
授权
摘要
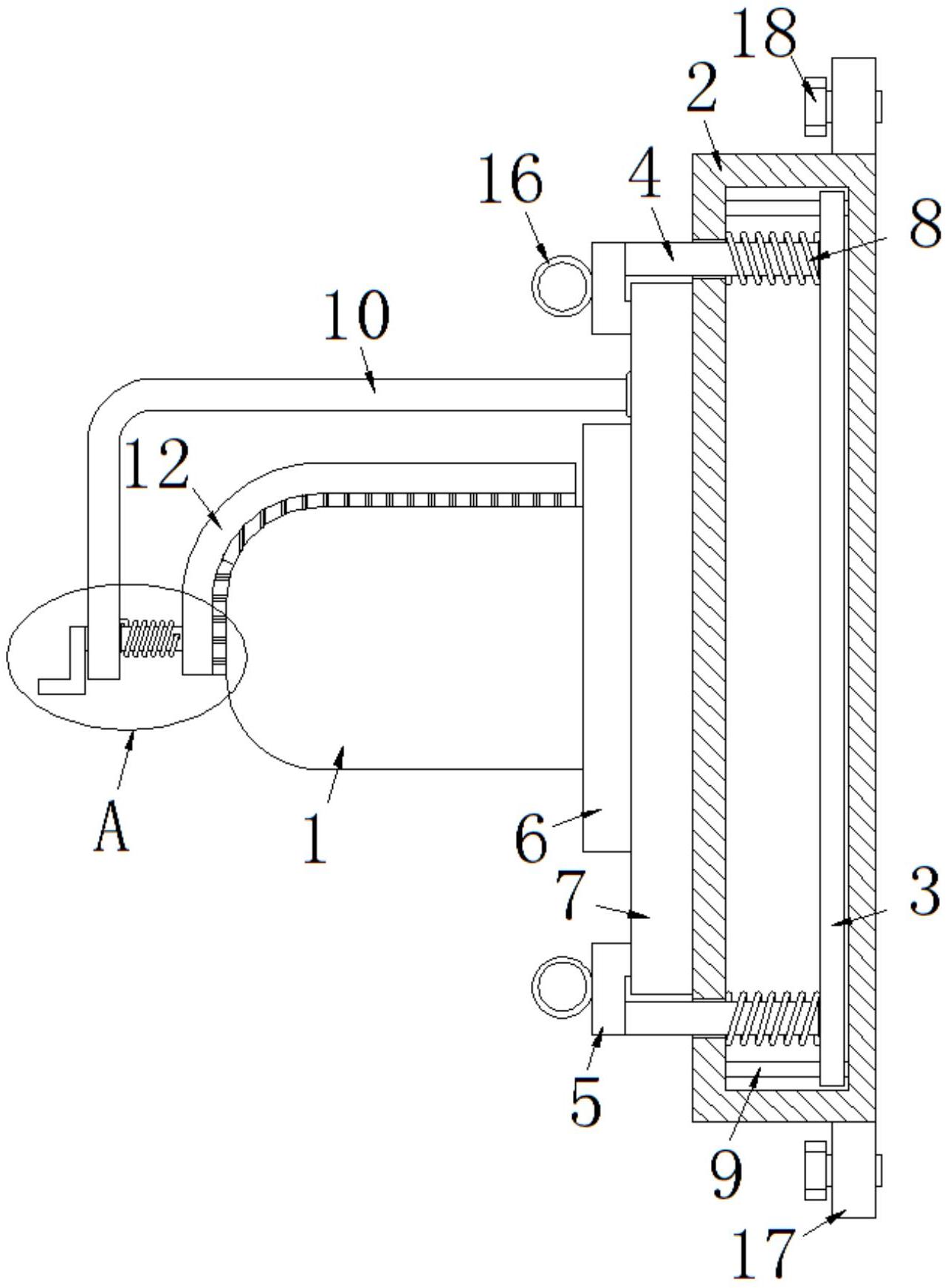
本实用新型涉及楼宇消防技术领域,且公开了一种智能楼宇用消防警示装置,包括声光旋转警示灯、安装盒和第一安装板,所述第一安装板设置于安装盒的内部,所述安装盒的内部对称设有两个连接杆,两个所述连接杆的右端杆壁分别通过第一轴承与第一安装板的左侧壁转动连接,所述安装盒的左侧壁对称开设有两个通孔,两个所述连接杆的左端分别通过对应的通孔并向外延伸且与对应的通孔滑动连接,两个所述连接杆的左端分别固定连接有卡杆,所述声光旋转警示灯的底座固定连接有第二安装板。本实用新型简化了声光旋转警示灯的安装和拆卸过程,有利于后期维护和保养。


