授权公布号:CN220671183U
用于玻璃敲击值测试装置
有效
申请
2023-08-25
申请公布
1970-01-01
授权
2024-03-26
预估到期
2033-08-25
| 申请号 | CN202322303895.3 |
| 申请日 | 2023-08-25 |
| 授权公布号 | CN220671183U |
| 授权公告日 | 2024-03-26 |
| 分类号 | G01N3/34;G01N3/02;G01N3/04 |
| 分类 | 测量;测试; |
| 申请人名称 | 中国国检测试控股集团股份有限公司 |
| 申请人地址 | 北京市朝阳区管庄东里1号科研生产区南楼 |
专利法律状态
2024-03-26
授权
状态信息
授权
摘要
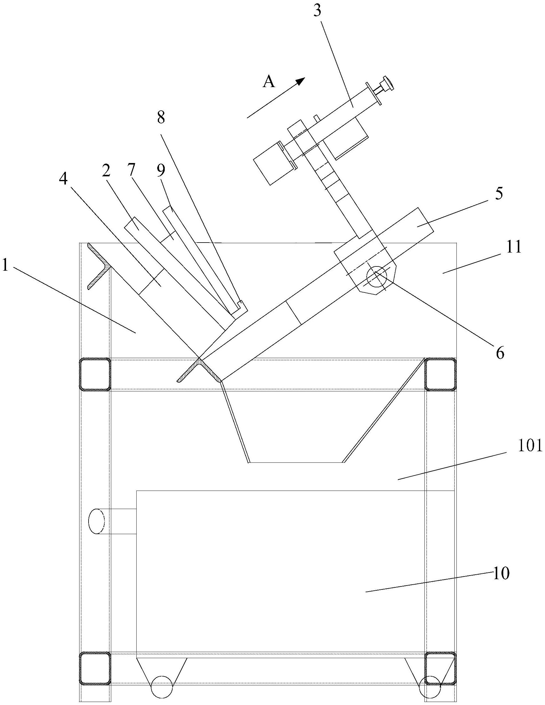
本申请提供一种玻璃敲击装置,涉及玻璃测试技术领域。其中,一种用于玻璃敲击值测试装置,包括工作台、放置平台、敲击组件和驱动组件;放置平台设置于工作台上,用于放置待测试的玻璃;敲击组件设置在工作台上,敲击组件的敲击端向放置平台的投影始终处于放置平台内,并沿第一方向往复运动;驱动组件设置于工作台上,驱动组件与敲击组件和/或放置平台连接,用于驱动放置平台和/或敲击组件沿第二方向往复的相对运动和沿第三方向相对运动;其中,第一方向与垂直于放置平台方向具有一定预设角度,第二方向与第三方向垂直,且平行于放置平台。本申请技术方案可以实现玻璃的自动进给,是敲击组件对玻璃进行全面的敲击,增加实验的准确性。


