授权公布号:CN203250640U
一种可调电容盒
失效
申请
2013-05-27
申请公布
1970-01-01
授权
2013-10-23
预估到期
2023-05-27
| 申请号 | CN201320296997.0 |
| 申请日 | 2013-05-27 |
| 授权公布号 | CN203250640U |
| 授权公告日 | 2013-10-23 |
| 分类号 | H01G5/38 |
| 分类 | 基本电气元件; |
| 申请人名称 | 德凯质量认证(上海)有限公司 |
| 申请人地址 | 上海市闸北区江场三路250号10楼 |
专利法律状态
2023-06-13
专利权的终止
状态信息
专利权有效期届满;IPC(主分类):H01G5/38;申请日:20130527;授权公告日:20131023
2013-10-23
授权
状态信息
授权
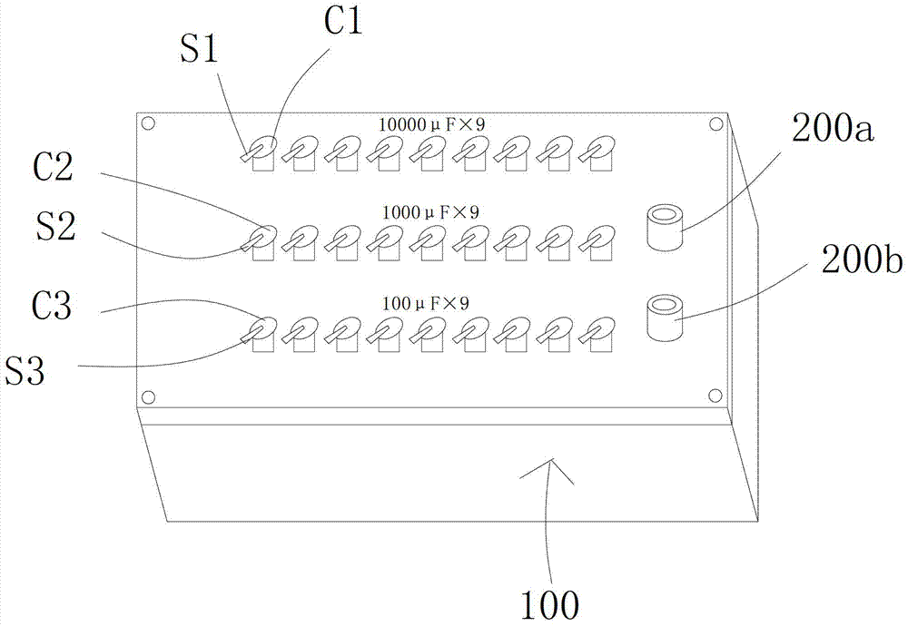
摘要
本实用新型公开了一种可调电容盒,其特征在于,包括一盒体,所述盒体上设置有两接线柱,所述盒体内并接有若干不同电容值的电容器,每一电容器上设置有一开关,每一电容器的两引脚分别并接在两接线柱上。本实用新型的有益效果在于:可以根据不同的使用需要启闭不同电容值的电容器,操作方便,只需将电路两端接在接线柱上,打开所需使用电容器的开关即可。


