授权公布号:CN210513417U
一种激光对向角自动测量系统
有效
申请
2019-09-25
申请公布
1970-01-01
授权
2020-05-12
预估到期
2029-09-25
| 申请号 | CN201921605635.9 |
| 申请日 | 2019-09-25 |
| 授权公布号 | CN210513417U |
| 授权公告日 | 2020-05-12 |
| 分类号 | G01J1/04 |
| 分类 | 测量;测试; |
| 申请人名称 | 莱茵检测认证服务(中国)有限公司 |
| 申请人地址 | 北京市朝阳区东三环中路乙10号艾维克大厦第7层第01、03B-08号,第11层第01、04B-08号 |
专利法律状态
2020-05-12
授权
状态信息
授权
摘要
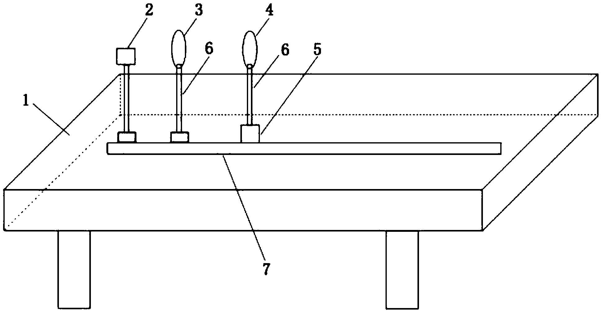
本实用新型公开了一种激光对向角自动测量系统,包括工作台、激光源、透镜和激光成像仪,所述工作台上设置有导轨,所述激光源和所述透镜各通过第一支架滑动连接所述导轨,所述激光成像仪通过第二支架滑动连接所述导轨,所述激光源发射出的激光穿过所述透镜后照射在所述激光成像仪上,所述激光成像仪连接有控制器,所述控制器连接有驱动电机,所述驱动电机通过传动机构连接所述第二支架。本实用新型的有益效果:可实现激光对向角的自动测试、计算,可减少人工参与,相对传统的手工测量方式,不仅提高了计算的精准度,而且还大大提高了测量的效率。


