授权公布号:CN107868753B
用于化妆品微生物的检测装置
有效
申请
2017-12-26
申请公布
2018-04-03
授权
2023-08-04
预估到期
2037-12-26
| 申请号 | CN201711433244.9 |
| 申请日 | 2017-12-26 |
| 申请公布号 | CN107868753A |
| 申请公布日 | 2018-04-03 |
| 授权公布号 | CN107868753B |
| 授权公告日 | 2023-08-04 |
| 分类号 | C12M1/00 |
| 分类 | 生物化学;啤酒;烈性酒;果汁酒;醋;微生物学;酶学;突变或遗传工程; |
| 申请人名称 | 华测检测认证集团股份有限公司 |
| 申请人地址 | 广东省深圳市宝安区70区鸿威工业园C栋 |
专利法律状态
2023-08-04
授权
状态信息
授权
2018-05-01
实质审查的生效
状态信息
实质审查的生效;IPC(主分类):C12M1/00;申请日:20171226
2018-04-03
公布
状态信息
公布
摘要
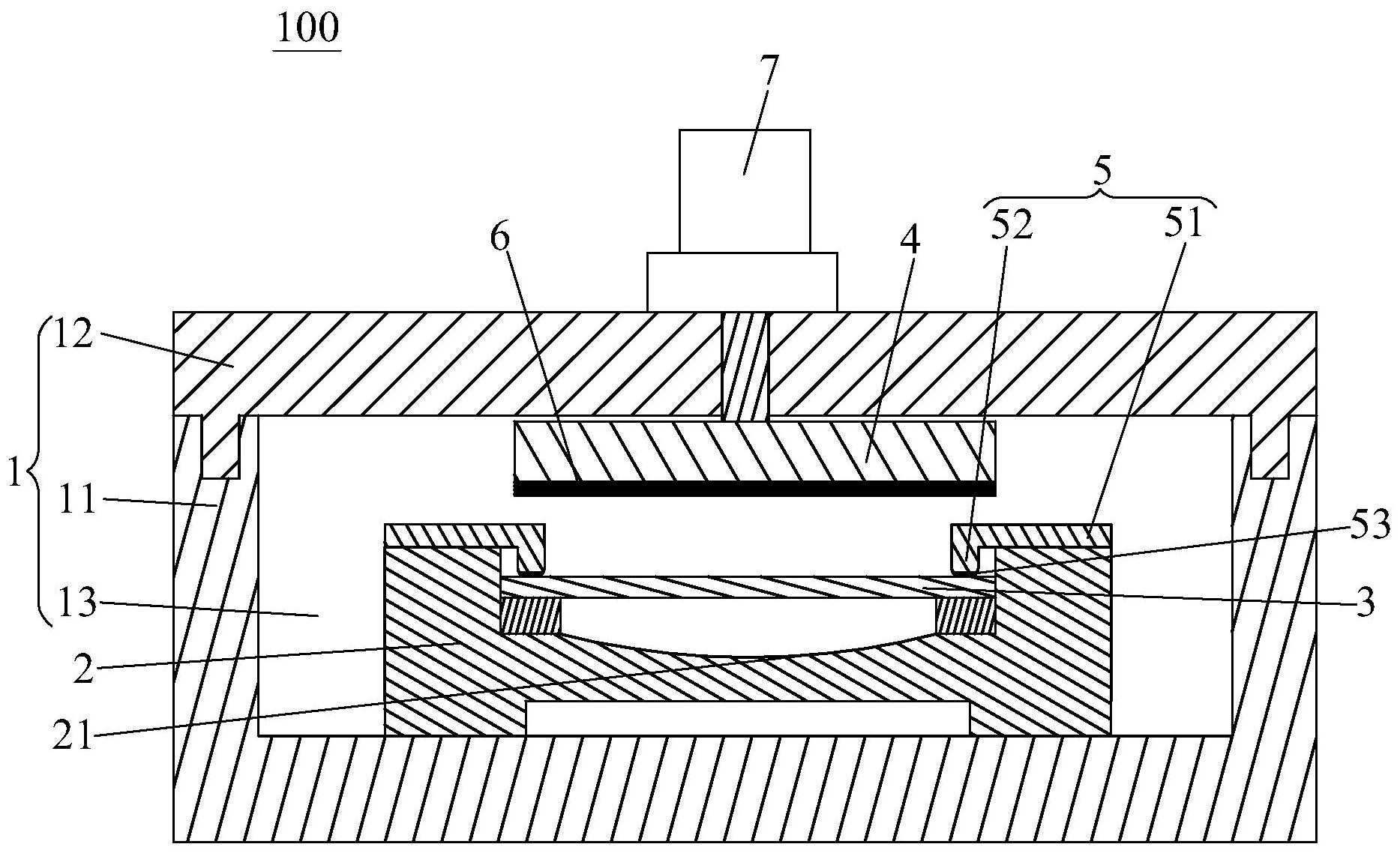
本发明公开了一种用于化妆品微生物的检测装置,包括:壳体,壳体包括底座和上盖,底座和上盖共同形成一容纳空间,上盖可密封地盖设于底座上;支撑台,支撑台设于容纳空间内,支撑台上表面设有一弧形反射结构;晶振装置,晶振装置包括晶振支架及装设于晶振支架上的晶振,晶振装置设于支撑台上,晶振支架与晶振之间还设有镂空结构,且晶振的下表面位于弧形反射结构的焦点处,且晶振的下表面设有培养基;模拟太阳光装置,模拟太阳光装置设于晶振装置的上方,模拟太阳光装置所发出的光透过镂空结构照射到弧形反射结构上,且通过弧形反射结构聚焦到晶振的下表面的培养基上。本发明是一种能够缩短培养时间,提高检测准确性的微生物的检测装置。


