授权公布号:CN217972568U
一种橡木桶抽酒枪
有效
申请
2022-07-05
申请公布
1970-01-01
授权
2022-12-06
预估到期
2032-07-05
| 申请号 | CN202221730338.9 |
| 申请日 | 2022-07-05 |
| 授权公布号 | CN217972568U |
| 授权公告日 | 2022-12-06 |
| 分类号 | B67C3/26 |
| 分类 | 开启或封闭瓶子、罐或类似的容器;液体的贮运; |
| 申请人名称 | 香格里拉酒业股份有限公司 |
| 申请人地址 | 云南省迪庆州香格里拉经济开发区松园片区 |
专利法律状态
2022-12-06
授权
状态信息
授权
摘要
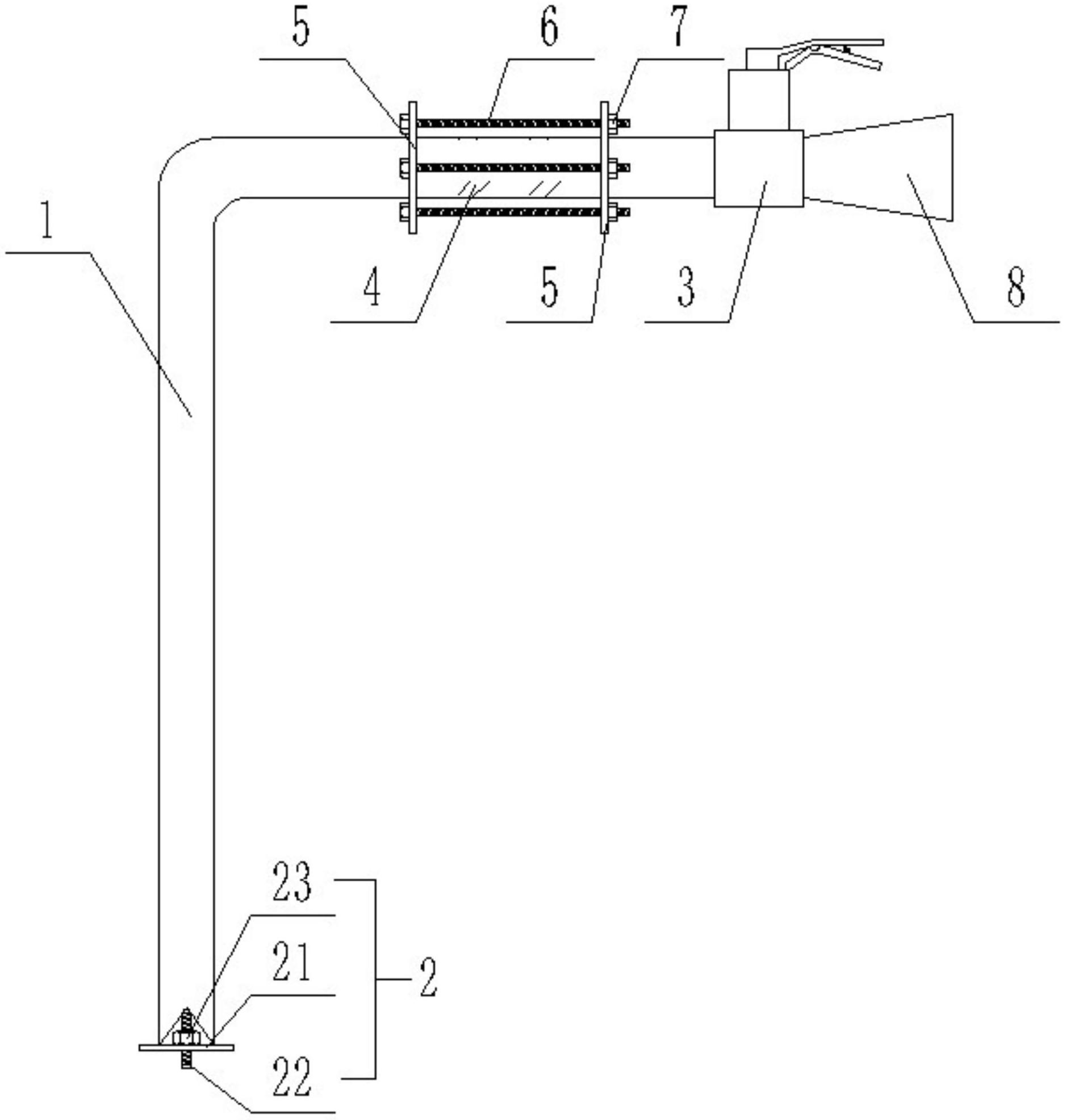
本实用新型涉及葡萄酒橡木桶陈酿技术领域,特别涉及一种橡木桶抽酒枪,包括管体,所述管体上至少有一段为透明可视段,所述管体的进液端设有高度调节组件,所述管体的出液端设有流量调节组件。与现有技术相比,本实用新型提供的一种橡木桶抽酒枪,通过透明可视段及高度调节组件配合,根据桶内酒泥多少,调整抽酒口进酒位置,并随时观察出酒状态,调整进酒口出装置,避免酒泥被抽出,通过透明可视段及流量调节组件配合,可以结合视镜内酒液状况,适时调整阀门大小,防止大量空气混入酒中,造成酒体氧化,结构简单,保证酒体转移时,避免酒泥与酒同时转移至其它容器及防止抽酒后期大量空气混合,提高陈酿葡萄酒的品质。


