授权公布号:CN217883843U
活体动物运输追踪装置和系统
有效
申请
2022-05-18
申请公布
1970-01-01
授权
2022-11-22
预估到期
2032-05-18
| 申请号 | CN202221199048.6 |
| 申请日 | 2022-05-18 |
| 授权公布号 | CN217883843U |
| 授权公告日 | 2022-11-22 |
| 分类号 | H04W4/029;H04W4/38;A01K1/02 |
| 分类 | 电通信技术; |
| 申请人名称 | 空中客车(中国)企业管理服务有限公司 |
| 申请人地址 | 北京市顺义区临空经济核心区天柱路8号2幢 |
专利法律状态
2022-11-22
授权
状态信息
授权
摘要
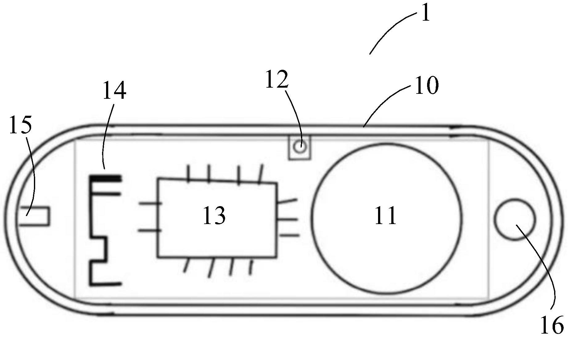
公开了一种活体动物运输追踪装置和系统。该追踪装置包括:电池,其被配置成为追踪装置供电;传感器,其被配置成感测追踪装置附近的周围环境;处理器,其被配置成处理接收自传感器的数据以得到环境信息;天线,处理器通过天线将环境信息发送至外部的无线集线器;和主体,其中容置有电池、传感器、处理器和天线。


