授权公布号:CN114414448B
颗粒物浓度测量装置及测量方法
有效
申请
2022-01-21
申请公布
2022-04-29
授权
2024-03-05
预估到期
2042-01-21
| 申请号 | CN202210070715.9 |
| 申请日 | 2022-01-21 |
| 申请公布号 | CN114414448A |
| 申请公布日 | 2022-04-29 |
| 授权公布号 | CN114414448B |
| 授权公告日 | 2024-03-05 |
| 分类号 | G01N15/06 |
| 分类 | 测量;测试; |
| 申请人名称 | 中国商用飞机有限责任公司 |
| 申请人地址 | 上海市浦东新区中国(上海)自由贸易试验区张杨路25号 |
专利法律状态
2024-03-05
授权
状态信息
授权
2022-05-20
实质审查的生效
状态信息
实质审查的生效;IPC(主分类):G01N15/06;申请日:20220121
2022-04-29
公布
状态信息
公布
摘要
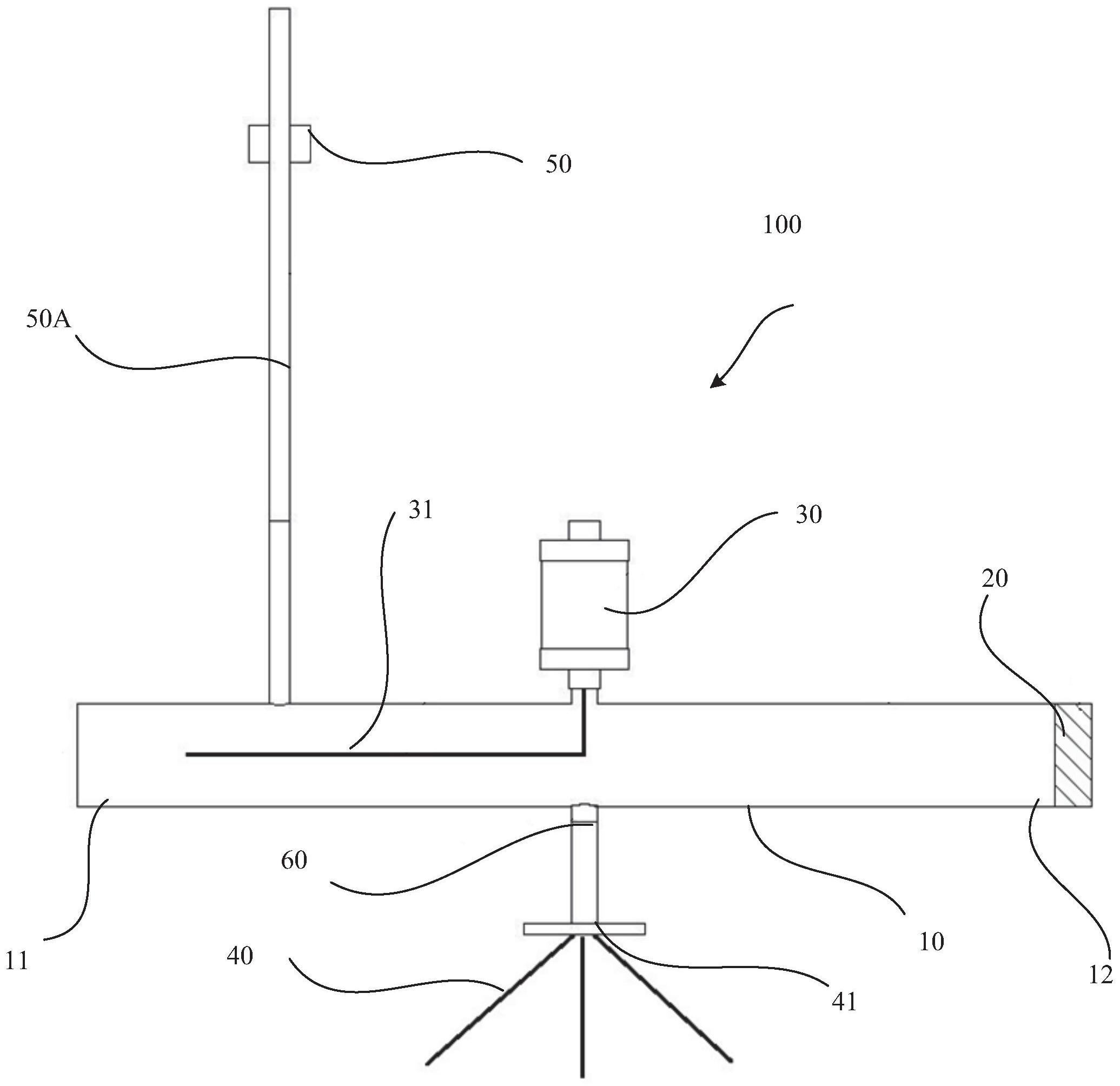
本发明涉及一种颗粒物浓度测量装置,包括:壳体,壳体的第一端敞开,并且壳体的第二端设有流量控制器,用于使气流从第一端进入壳体并经由第二端离开壳体;设置在壳体上的颗粒物浓度传感器,其中,颗粒物浓度传感器包括静电感应杆,静电感应杆沿着壳体的长度方向设置在壳体的内部空间中。这样,通过壳体产生相对稳定的流动环境,有利于采集装置标定,且在雨雪等天气情况下对传感器起到保护作用,另外,流量传感器使得通过壳体的空气流量稳定可控,进而在壳体内可产生固定流速的风,以便于空气中存在的颗粒物与静电感应杆相互作用,提高了测量精度。另外,本发明还涉及一种使用折中颗粒物浓度测量装置测量空气中的颗粒物浓度的测量方法。


