授权公布号:CN215204706U
一种便于拆装的双面显示的车载电视广告机
有效
申请
2021-04-06
申请公布
1970-01-01
授权
2021-12-17
预估到期
2031-04-06
| 申请号 | CN202120686396.5 |
| 申请日 | 2021-04-06 |
| 授权公布号 | CN215204706U |
| 授权公告日 | 2021-12-17 |
| 分类号 | B60R11/02 |
| 分类 | 一般车辆; |
| 申请人名称 | 宁夏动感飞扬文化传媒集团有限公司 |
| 申请人地址 | 宁夏回族自治区银川市金凤区阅海湾中央商务区力德财富大厦第18层1801-03号办公室 |
专利法律状态
2021-12-17
授权
状态信息
授权
摘要
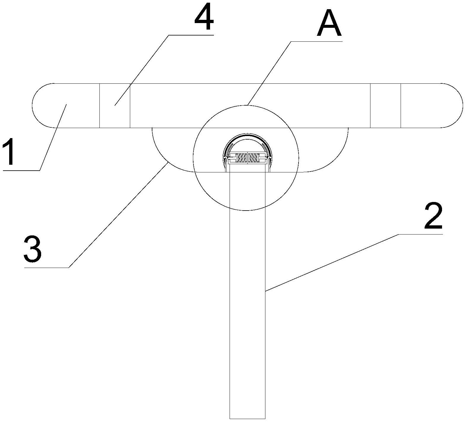
一种便于拆装的双面显示的车载电视广告机,包括安装盘和显示屏,安装盘中间固定连接有凸台,凸台两侧设有螺栓孔,凸台内开设卡槽,卡槽侧面胶连接有橡胶垫,卡槽两侧开设有固定槽,显示屏一侧边固定连接有处理盒,处理盒转动连接有两个交错的旋转环,两个交错旋转环侧面分别固定连接旋钮,两个旋钮转动连接处理盒端面,处理盒内安装有控制处理面板,两个旋转环均开设有多个旋转齿,两个旋转环均转动连接卡架,本实用新型具有以下优点:通过安装盘,方便对车体进行安装,使用橡胶垫并将控制系统整合在处理盒中,减少共振对显示器和控制板的损伤,使用固定槽对显示屏进行连接,方便在狭小空间的安装,使用旋钮控制开关,减少安装时间。


