授权公布号:CN217223857U
一种剪板机的定位装置
有效
申请
2022-04-06
申请公布
1970-01-01
授权
2022-08-19
预估到期
2032-04-06
| 申请号 | CN202220776111.1 |
| 申请日 | 2022-04-06 |
| 授权公布号 | CN217223857U |
| 授权公告日 | 2022-08-19 |
| 分类号 | B23D33/02;B23D15/06 |
| 分类 | 机床;不包含在其他类目中的金属加工; |
| 申请人名称 | 福建凯景新型科技材料有限公司 |
| 申请人地址 | 福建省漳州市台商投资区景福路6号 |
专利法律状态
2022-08-19
授权
状态信息
授权
摘要
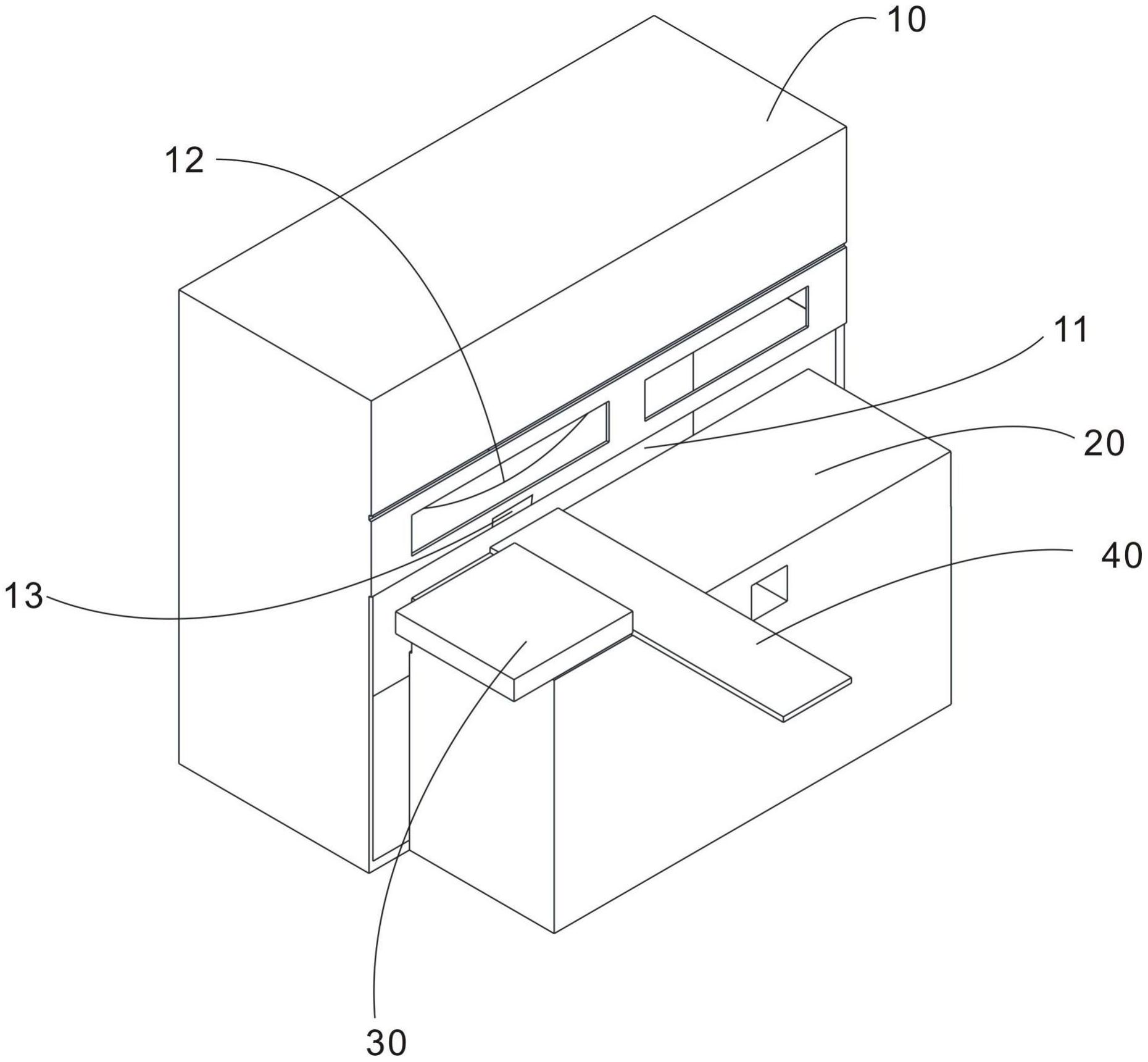
本实用新型公开了一种剪板机的定位装置,其包括:剪板机主体,其设有敞开的剪切口,所述剪切口上设有剪切刀,所述剪切刀在电机带动下向下剪切;平台,其邻近设置在剪切口附近,用于承载待剪切的板;定位块,其固定在所述平台上,所述待剪切的板在工作时抵靠在所述定位块的一个定位侧面,所述定位侧面与剪切刀向下剪切的方向垂直。本实用新型能够方便又快捷地剪出想要的板,而且容易调整剪切的长度。


