授权公布号:CN217220305U
一种沉淀池抽泥管道堵塞处理装置
有效
申请
2022-04-06
申请公布
1970-01-01
授权
2022-08-19
预估到期
2032-04-06
| 申请号 | CN202220776137.6 |
| 申请日 | 2022-04-06 |
| 授权公布号 | CN217220305U |
| 授权公告日 | 2022-08-19 |
| 分类号 | B01D21/24;B08B9/032 |
| 分类 | 一般的物理或化学的方法或装置; |
| 申请人名称 | 福建凯景新型科技材料有限公司 |
| 申请人地址 | 福建省漳州市台商投资区景福路6号 |
专利法律状态
2022-08-19
授权
状态信息
授权
摘要
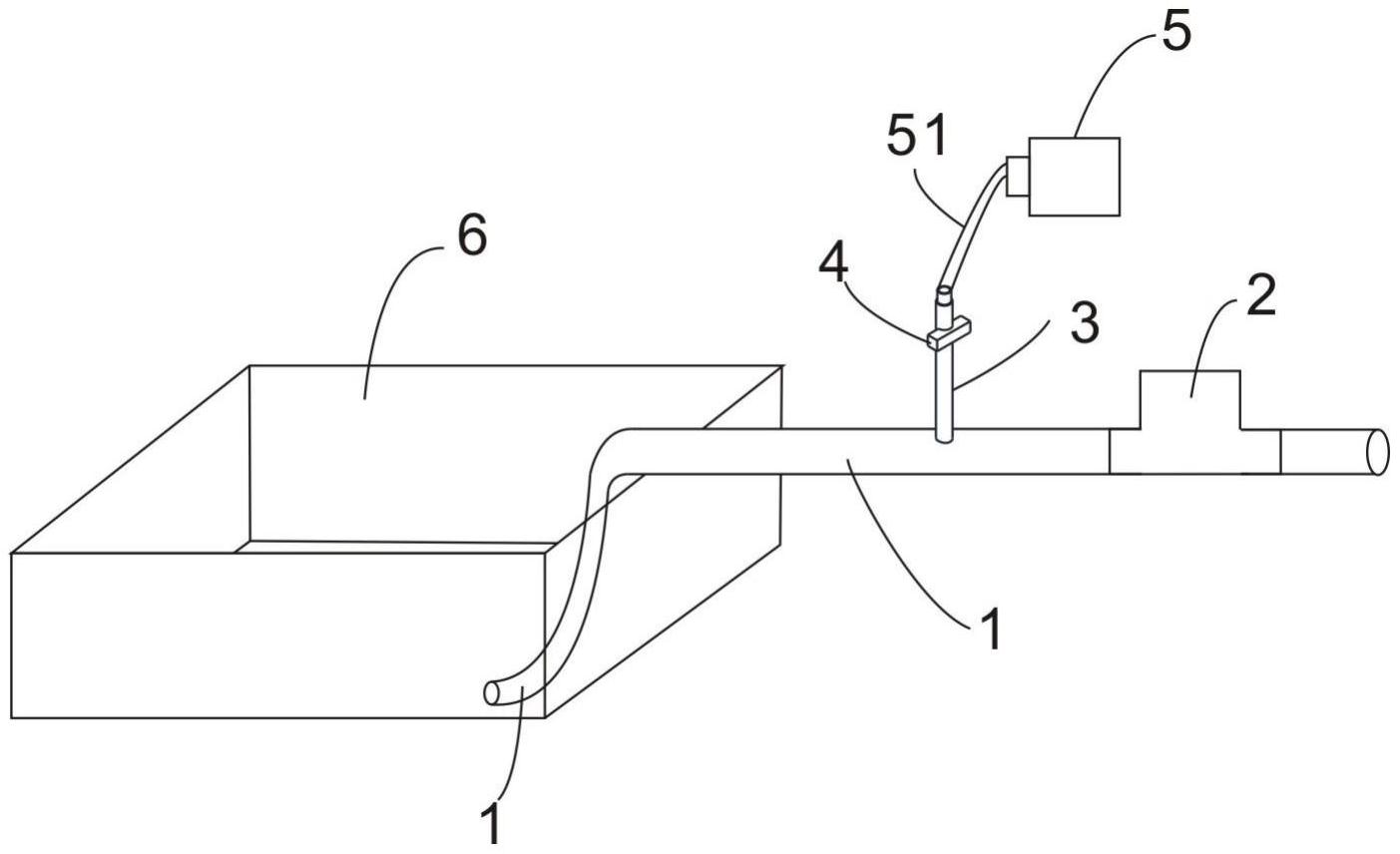
本实用新型公开了一种沉淀池抽泥管道堵塞处理装置,其包括:抽泥管道,所述抽泥管道的一部分安装于沉淀池底部,所述抽泥管道的另一部分延伸出形成延伸端;泵,抽泥管道的延伸端与所述泵的一端连通,所述泵的另一端与污泥池连通;支管,所述支管固定安装在延伸出的抽泥管道上,所述支管与所述抽泥管道相连通;电池阀,所述电池阀安装在所述支管上,压缩空气机,其压缩空气管可拆卸地连通于所述支管的末端。本实用新型能够减少管道堵塞的处理时间,提高处理效率。


