授权公布号:CN217830605U
一种泵浦
有效
申请
2022-04-06
申请公布
1970-01-01
授权
2022-11-18
预估到期
2032-04-06
| 申请号 | CN202220778823.7 |
| 申请日 | 2022-04-06 |
| 授权公布号 | CN217830605U |
| 授权公告日 | 2022-11-18 |
| 分类号 | B05C11/10 |
| 分类 | 一般喷射或雾化;对表面涂覆液体或其他流体的一般方法〔2〕; |
| 申请人名称 | 福建凯景新型科技材料有限公司 |
| 申请人地址 | 福建省漳州市台商投资区景福路6号 |
专利法律状态
2022-11-18
授权
状态信息
授权
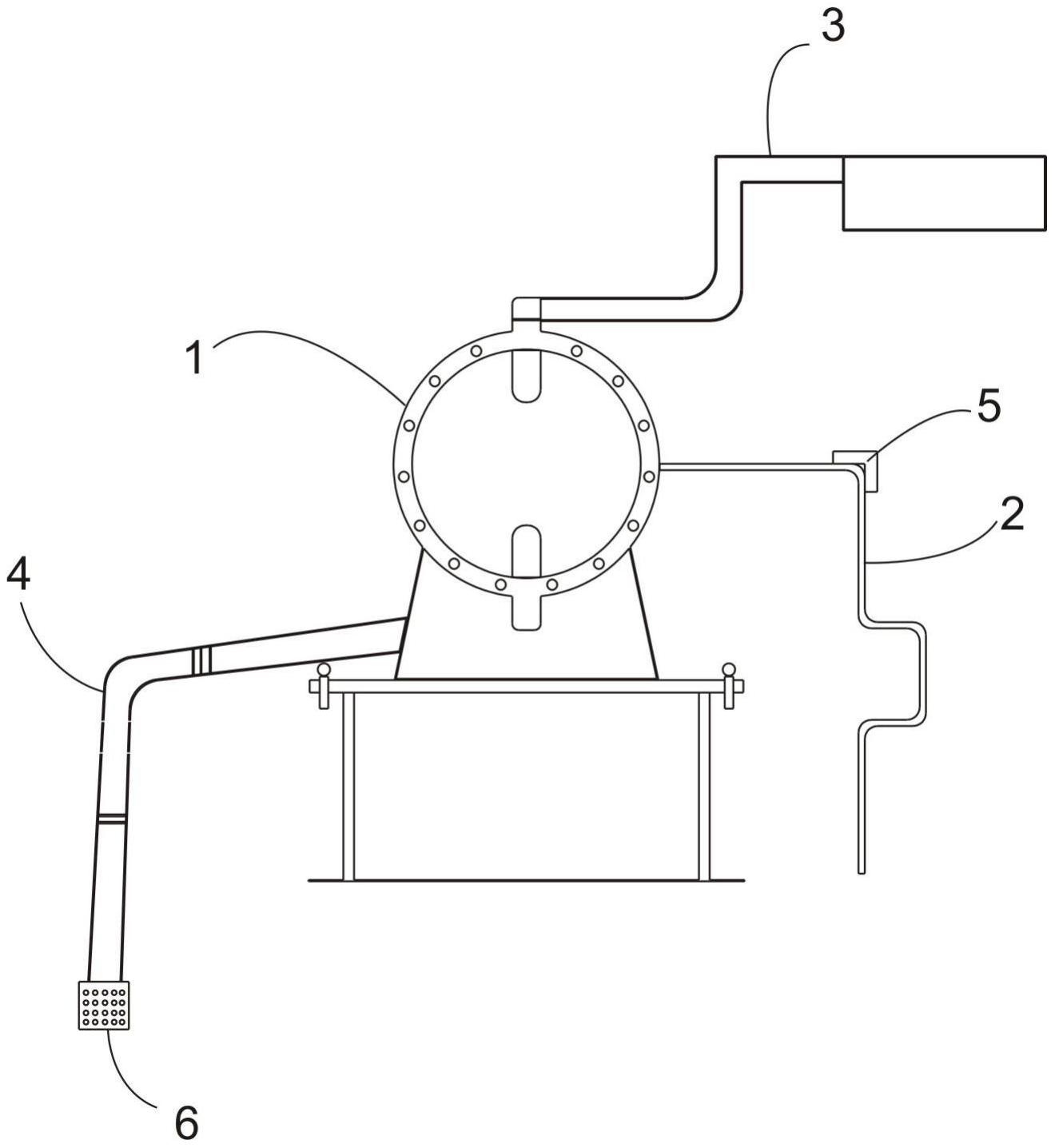
摘要
本实用新型公开了一种泵浦,其包括:泵浦主体,气压管,其与所述泵浦主体相通;泵管,其与所述泵浦主体连通,泵枪,其与所述泵浦主体相连通,所述泵枪上装有过滤头。本实用新型由于在泵枪上装有过滤头,从而能够防止杂物进入,从而减少泵浦的损坏,以及减少不良品发生。


