授权公布号:CN2584919Y
缸径为135~140mm组合式曲轴柴油机曲拐
有效
申请
2002-06-17
申请公布
1970-01-01
授权
2003-11-05
预估到期
2012-06-17
| 申请号 | CN02262554.2 |
| 申请日 | 2002-06-17 |
| 授权公布号 | CN2584919Y |
| 授权公告日 | 2003-11-05 |
| 分类号 | F16C3/04 |
| 分类 | 工程元件或部件;为产生和保持机器或设备的有效运行的一般措施;一般绝热; |
| 申请人名称 | 南通柴油机股份有限公司 |
| 申请人地址 | 江苏省南通市任港路46号 |
专利法律状态
2021-06-29
授权
状态信息
授权
2012-09-05
专利权的终止
状态信息
专利权有效期届满;IPC(主分类):F16C3/04;申请日:20020617;授权公告日:20031105期满;终止日期:20120617
2003-11-05
实用新型专利权授予
状态信息
授权
摘要
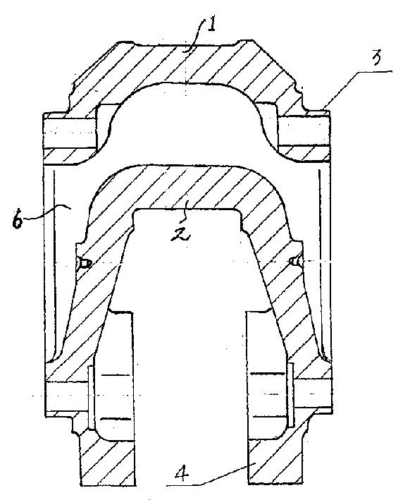
本实用新型公开了一种柴油机曲拐,有曲柄销,曲柄销与曲柄臂连接,曲柄臂与主轴颈连接,平衡块与曲柄臂连接,主轴颈横断面上设置沿圆周均匀分布的6个安装定位孔。本实用新型结构合理,通用性好、适用性强。


