授权公布号:CN220470877U
一种内衬不锈钢复合管承插柔性连接结构
有效
申请
2023-08-16
申请公布
1970-01-01
授权
2024-02-09
预估到期
2033-08-16
| 申请号 | CN202322194654.X |
| 申请日 | 2023-08-16 |
| 授权公布号 | CN220470877U |
| 授权公告日 | 2024-02-09 |
| 分类号 | F16L13/02 |
| 分类 | 工程元件或部件;为产生和保持机器或设备的有效运行的一般措施;一般绝热; |
| 申请人名称 | 江苏新澎复合材料有限公司 |
| 申请人地址 | 江苏省淮安市淮阴区王营工业园区新澎路1号 |
专利法律状态
2024-02-09
授权
状态信息
授权
摘要
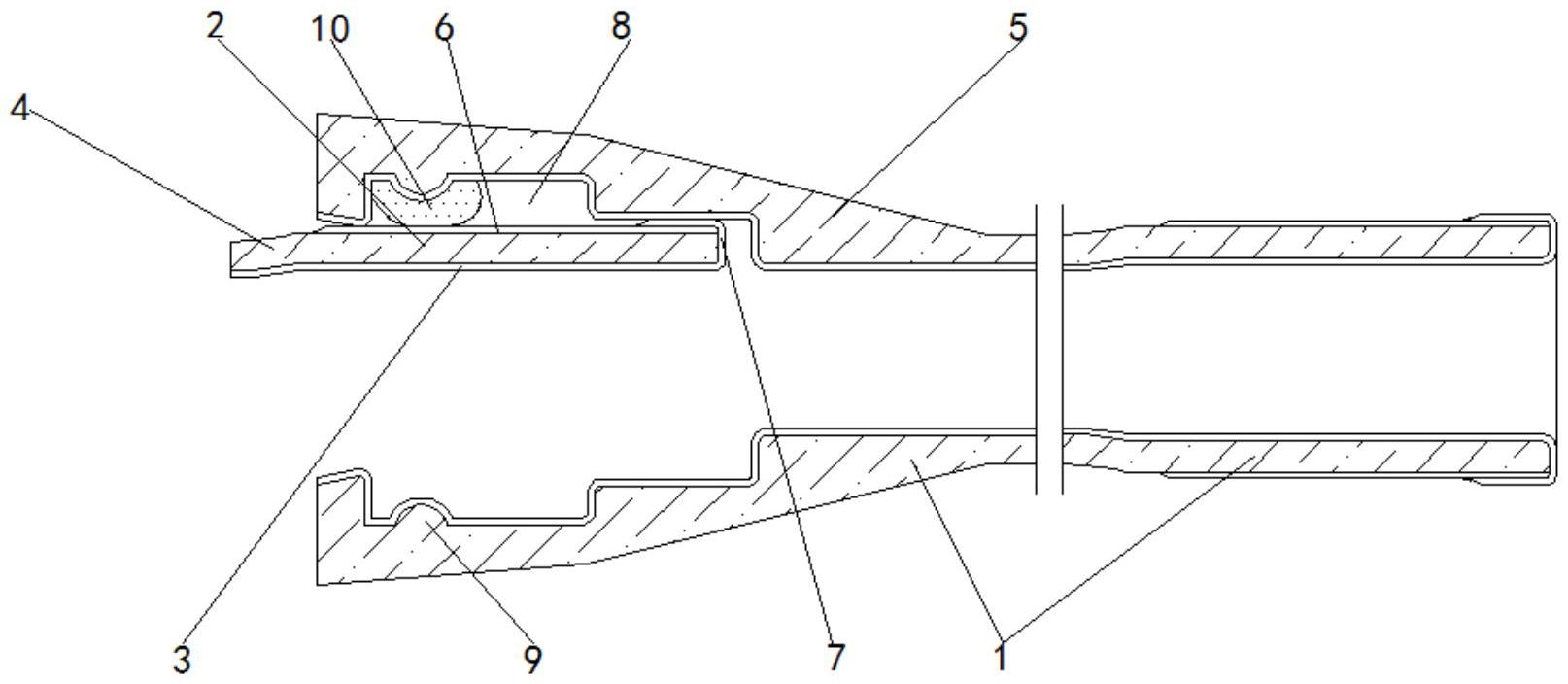
本实用新型涉及一种内衬不锈钢复合管承插柔性连接结构,包括复合管本体,所述复合管本体包括碳钢外管和不锈钢内衬,所述复合管本体的两端分别设置有插口端和承插口端,所述插口端的外壁设有不锈钢保护套,所述插口端不锈钢内衬设有外延不锈钢层,所述外延不锈钢层沿插口端部朝外翻边一定长度与不锈钢保护层焊接。该内衬不锈钢复合管承插柔性连接结构,通过在承插口端和插口端之间设置密封件,使得复合管本体密封性能好,通过凸起、插口与密封件之间的配合,可起到防渗漏作用,通过外延不锈钢层沿插口端部朝外翻边一定长度并与不锈钢保护层的一端封焊,对其碳钢外管进行了防护,可避免液体对其碳钢外管造成腐蚀破坏,对其碳钢外管进行了有效的防护。


