授权公布号:CN217224171U
一种复合钢管管口阶梯封焊结构
有效
申请
2022-02-11
申请公布
1970-01-01
授权
2022-08-19
预估到期
2032-02-11
| 申请号 | CN202220280446.4 |
| 申请日 | 2022-02-11 |
| 授权公布号 | CN217224171U |
| 授权公告日 | 2022-08-19 |
| 分类号 | B23K31/02;B23K37/00;B23K101/06N;B23K103/04N |
| 分类 | 机床;不包含在其他类目中的金属加工; |
| 申请人名称 | 江苏新澎复合材料有限公司 |
| 申请人地址 | 江苏省淮安市淮阴区王营工业园新澎路1号 |
专利法律状态
2022-08-19
授权
状态信息
授权
摘要
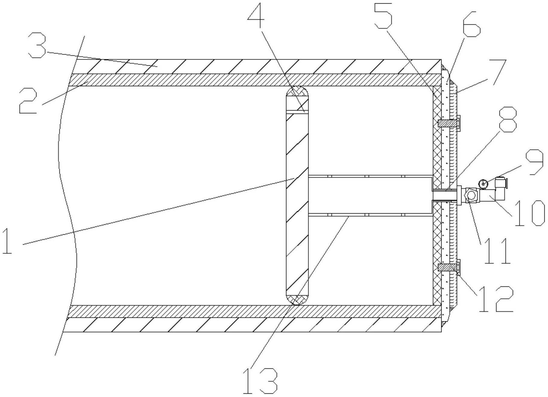
本实用新型公开了一种复合钢管管口阶梯封焊结构,包括主架结构和支架结构,所述主架结构包括外管,所述外管的内部装设有内管,所述内管的右侧装设有第二焊接板,所述第二焊接板的右侧装设有第三焊接板,所述外管的右侧与第二焊接板的左侧相连;所述支架结构包括位于第二焊接板左侧的第一焊接板,所述第一焊接板右侧开设有两个紧固槽,两个所述紧固槽的内壁均螺纹连接有连接螺栓,所述连接螺栓的右端贯穿与第二焊接板与第三焊接板的内部。该复合钢管管口阶梯封焊结构,第一焊接板、第二焊接板、第三焊接板的装设,进行依次阶梯式的封焊,且由连接螺栓将各焊接板中部紧固的连接在一起,由此保证了整体的封焊效果。


