授权公布号:CN213447265U
一种热镀锌炉鼻子除锌灰装置
有效
申请
2020-10-21
申请公布
1970-01-01
授权
2021-06-15
预估到期
2030-10-21
| 申请号 | CN202022352631.3 |
| 申请日 | 2020-10-21 |
| 授权公布号 | CN213447265U |
| 授权公告日 | 2021-06-15 |
| 分类号 | C23C2/06;C23C2/40 |
| 分类 | 对金属材料的镀覆;用金属材料对材料的镀覆;表面化学处理;金属材料的扩散处理;真空蒸发法、溅射法、离子注入法或化学气相沉积法的一般镀覆;金属材料腐蚀或积垢的一般抑制〔2〕; |
| 申请人名称 | 山东汇金彩钢有限公司 |
| 申请人地址 | 山东省滨州市博兴县店子董官村 |
专利法律状态
2021-06-15
授权
状态信息
授权
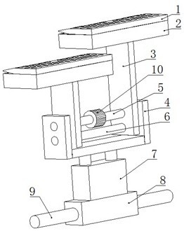
摘要
本实用新型提供一种热镀锌炉鼻子除锌灰装置,包括宽度可调的支架,所述支架上方连接有除灰机构,所述除灰机构连接有升降架,所述升降架连接有宽度可调的刮板,所述刮板下方配置有锌灰收集盒。该装置可以实现机械化自动除灰,简便易行,安装简单,操作安全方便,解决了热镀锌生产设备锌灰处理问题,提升了产品合格率,获得显著的经济效益。


