授权公布号:CN205676506U
退火炉炉口密封辊
有效
申请
2016-06-12
申请公布
1970-01-01
授权
2016-11-09
预估到期
2026-06-12
| 申请号 | CN201620552255.3 |
| 申请日 | 2016-06-12 |
| 授权公布号 | CN205676506U |
| 授权公告日 | 2016-11-09 |
| 分类号 | C21D1/26 |
| 分类 | 铁的冶金; |
| 申请人名称 | 山东汇金彩钢有限公司 |
| 申请人地址 | 山东省滨州市博兴县店子董官村 |
专利法律状态
2016-11-09
授权
状态信息
授权
摘要
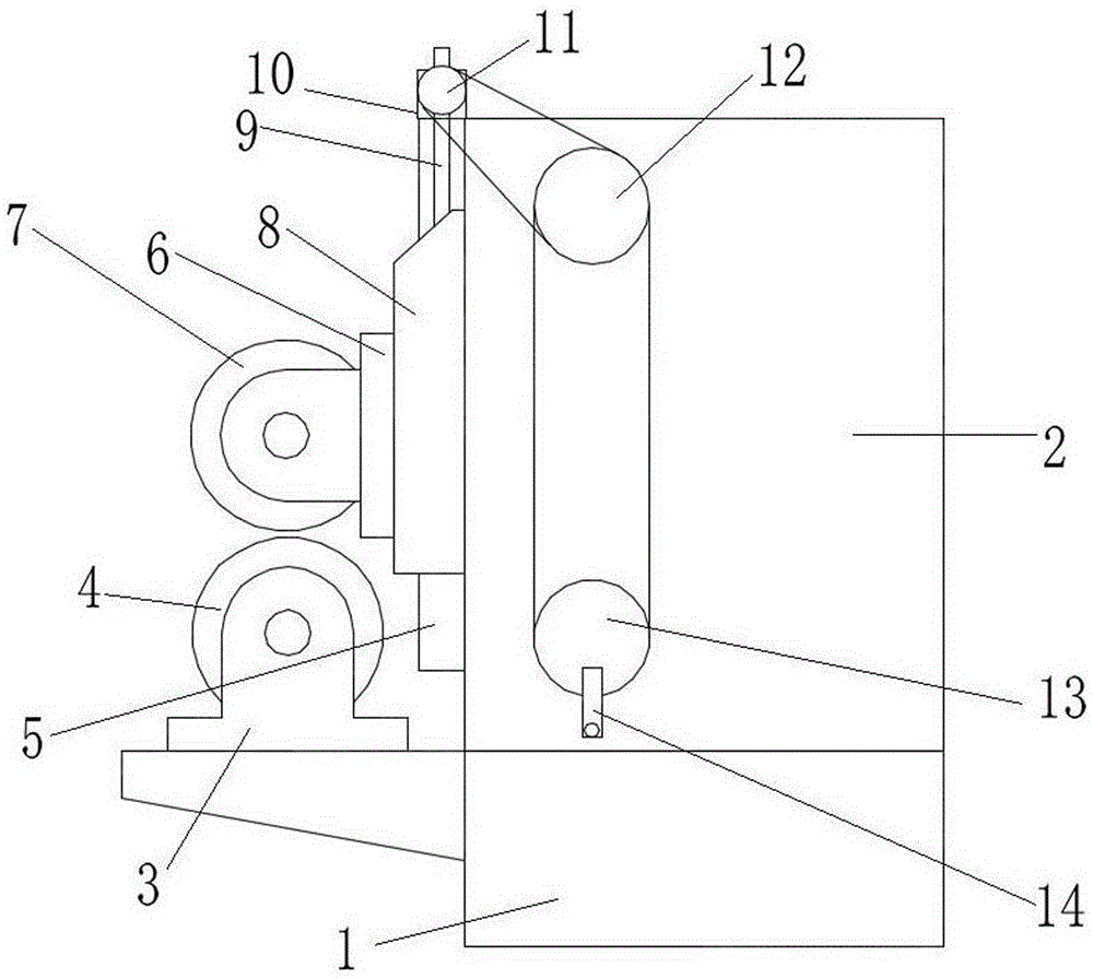
一种退火炉炉口密封辊,包括:安装于底座上的退火炉、通过带座轴承Ⅰ水平转动安装于底座上且位于退火炉炉口前端的下辊、竖直设置于退火炉前端的导轨、滑动安装于导轨上的滑块、通过带座轴承Ⅱ水平转动安装于滑块上且位于下辊正上方的上辊。滑块驱动装置驱动滑块上下运动,从而调整上辊和下辊之间的间距,从而使上辊和下辊的辊面与进入退火炉的钢板的上下表面紧密接触,从而起到密封作用,不但密封效果优良,同时不会有杂质附着在钢板表面,提高了产品质量。


