授权公布号:CN213378007U
一种用于清洁张力机S辊的刮渣机构
有效
申请
2020-09-30
申请公布
1970-01-01
授权
2021-06-08
预估到期
2030-09-30
| 申请号 | CN202022207163.0 |
| 申请日 | 2020-09-30 |
| 授权公布号 | CN213378007U |
| 授权公告日 | 2021-06-08 |
| 分类号 | B08B1/00;B08B5/02;B08B13/00 |
| 分类 | 清洁; |
| 申请人名称 | 山东汇金彩钢有限公司 |
| 申请人地址 | 山东省滨州市博兴县店子董官村 |
专利法律状态
2021-06-08
授权
状态信息
授权
摘要
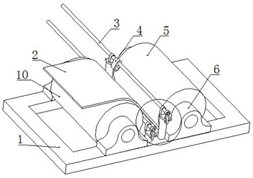
本实用新型公开一种用于清洁张力机S辊的刮渣机构,包括成对设置的导向管支架,两导向管支架共同转动连接有导向管,所述导向管外部套装有气刀刮刀头,所述导向管的其中一端连接有手柄,所述手柄与导向管支架可拆卸式卡接。该刮渣机构与机架连接,辅助人工操作拉动导向管,通过气刀刮刀头沿S辊轴向移动,能够快速消除张力机辊上的异物,减少基板压印,操作安全,便捷高效,提高产品质量。


