授权公布号:CN218947530U
一种双头螺栓拆装工具
有效
申请
2022-11-17
申请公布
1970-01-01
授权
2023-05-02
预估到期
2032-11-17
| 申请号 | CN202223094198.3 |
| 申请日 | 2022-11-17 |
| 授权公布号 | CN218947530U |
| 授权公告日 | 2023-05-02 |
| 分类号 | B25B27/00 |
| 分类 | 手动工具;轻便机动工具;手动器械的手柄;车间设备;机械手; |
| 申请人名称 | 广州柴油机厂股份有限公司 |
| 申请人地址 | 广东省广州市荔湾区芳村大道东73号 |
专利法律状态
2023-05-02
授权
状态信息
授权
摘要
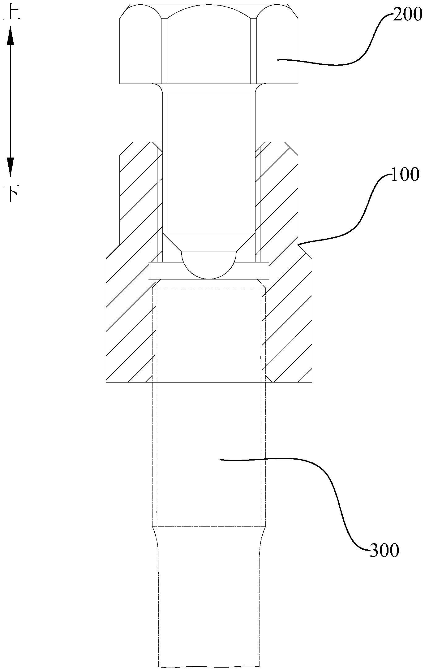
本实用新型用于拆装工具领域,特别涉及一种双头螺栓拆装工具,包括工具螺栓;螺母,内部设有第一螺纹节段和第二螺纹节段,第一螺纹节段的旋向与第二螺纹节段的旋向相反。将工具螺栓安装在第一螺纹节段中,第二螺纹节段安装在双头螺栓上,转动螺母使得工具螺栓的端部与双头螺栓的端部相互挤压锁紧,螺母会带动工具螺栓以及双头螺栓一起旋转,即可紧固双头螺栓,拆卸双头螺栓时,用扳手反向转动螺母,双头螺栓会在第二螺纹节段中递进,使得双头螺栓的端部抵紧在工具螺栓的端部锁紧,螺母会带动工具螺栓以及双头螺栓一起旋转,从而使得双头螺栓拆卸下来,这种双头螺栓拆装工具能够有效防止螺母对双头螺栓上的螺纹造成的破坏。


