授权公布号:CN218962697U
一种实验室微观检测试样干燥皿放置支架
有效
申请
2022-12-01
申请公布
1970-01-01
授权
2023-05-05
预估到期
2032-12-01
| 申请号 | CN202223192062.6 |
| 申请日 | 2022-12-01 |
| 授权公布号 | CN218962697U |
| 授权公告日 | 2023-05-05 |
| 分类号 | B01L9/00 |
| 分类 | 一般的物理或化学的方法或装置; |
| 申请人名称 | 酒泉钢铁(集团)有限责任公司 |
| 申请人地址 | 甘肃省嘉峪关市雄关东路12号 |
专利法律状态
2023-05-05
授权
状态信息
授权
摘要
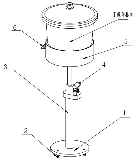
本实用新型公开了一种实验室微观检测试样干燥皿放置支架,支架由下至上包括底座、气动升降杆和放置筒;底座的下表面连接有若干万向滚轮;气动升降杆竖直设置,气动升降杆下端与底座中心固定连接;放置筒竖直设置,气动升降杆上端与放置筒底部中心固定连接;放置筒内腔设有环形阶梯状布设的支撑台,各支撑台上表面铺设有环形的橡胶垫片。本实用新型放置筒内部设计有大小不一、高度不同的圆环形台阶和同台阶尺寸对应配置的环形橡胶垫片,以便放置不同尺寸的干燥皿并保证干燥皿的放置稳当牢固。


