授权公布号:CN107191188B
基岩段不良含水层定位靶向注浆立井井壁结构、施工装置及方法
有效
申请
2017-07-25
申请公布
2017-09-22
授权
2023-06-06
预估到期
2037-07-25
| 申请号 | CN201710611289.4 |
| 申请日 | 2017-07-25 |
| 申请公布号 | CN107191188A |
| 申请公布日 | 2017-09-22 |
| 授权公布号 | CN107191188B |
| 授权公告日 | 2023-06-06 |
| 分类号 | E21D1/10;E21D5/11;C04B28/04 |
| 分类 | 土层或岩石的钻进;采矿; |
| 申请人名称 | 马钢(集团)控股有限公司 |
| 申请人地址 | 安徽省马鞍山市雨山区九华西路8号 |
专利法律状态
2023-06-06
授权
状态信息
授权
2017-10-24
实质审查的生效
状态信息
实质审查的生效;IPC(主分类):E21D1/10;申请日:20170725
2017-09-22
公布
状态信息
公布
摘要
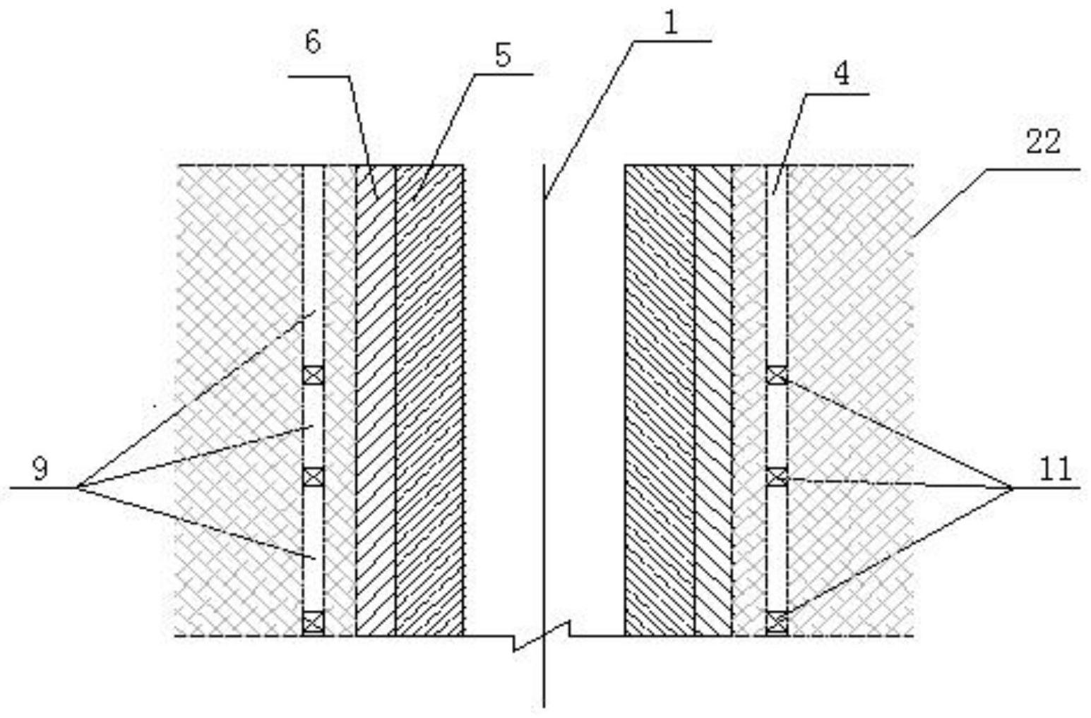
基岩段不良含水层定位靶向注浆立井井壁结构,涉及不良地层的立井井壁结构及施工方法。特点是,井筒周围设定位靶向注浆钻孔、孔口管、注浆段、外壁和内壁;定位靶向注浆钻孔以井筒中心为圆心、沿井筒荒径线圆周2m外成对均匀布置并垂直地面,至少设置8个定位靶向注浆钻孔;孔口管置在定位靶向注浆钻孔内,水泥浆液由靶向注浆钻孔注入,扩充至钻孔周围5~10m基岩段不良含水层中,凝固成注浆段,注浆段分层设在基岩段所处的不良含水层内;所述的外壁为不小于300mm厚的钢筋混凝土,内壁为不小于600mm厚的钢筋混凝土。优点是构思新颖,结构简单,稳定可靠,承载力高,堵水效果好,施工快速,方便,能够实现井筒快速掘砌,节省费用。


