授权公布号:CN217577768U
一种收线设备
有效
申请
2022-06-15
申请公布
1970-01-01
授权
2022-10-14
预估到期
2032-06-15
| 申请号 | CN202221503952.1 |
| 申请日 | 2022-06-15 |
| 授权公布号 | CN217577768U |
| 授权公告日 | 2022-10-14 |
| 分类号 | B65H54/54 |
| 分类 | 输送;包装;贮存;搬运薄的或细丝状材料; |
| 申请人名称 | 特恩驰(南京)光纤有限公司 |
| 申请人地址 | 江苏省南京市高新技术产业开发区新科四路2号 |
专利法律状态
2022-10-14
授权
状态信息
授权
摘要
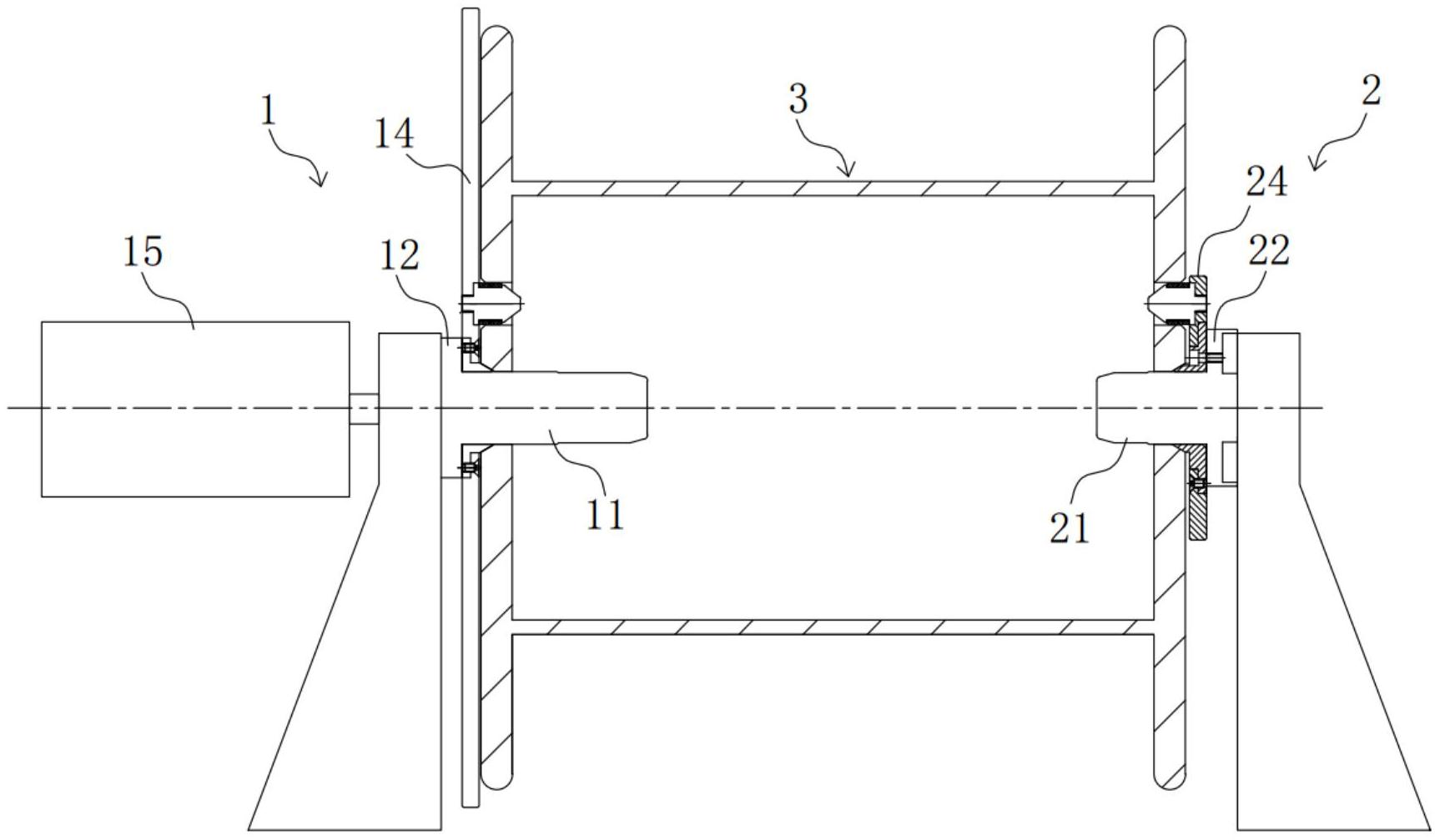
本实用新型涉及光纤拉丝收线技术领域,具体涉及一种收线设备,包括主座装置、尾座装置和收线大盘,主座装置包括有主轴和第一锥定位套,主轴上形成有第一凸缘,第一锥定位套套设在主轴上并可拆卸地安装在第一凸缘上,尾座装置包括有从轴和第二锥定位套,从轴上形成有第二凸缘,第二锥定位套套设在从轴上并可拆卸地安装在第二凸缘上,收线大盘的第一端形成有与第一锥定位套上的第一外锥面配合接触承压的第一内锥面,收线大盘的第二端形成有与第二锥定位套上的第二外锥面配合接触承压的第二内锥面。本实用新型提供的一种收线设备,可提高收线设备的动平衡,减小收线设备的振动,可以减小工作环境的噪音,同时维护时间短、维护成本低。


