授权公布号:CN213329581U
一种散热保温发电一体化板
有效
申请
2020-06-17
申请公布
1970-01-01
授权
2021-06-01
预估到期
2030-06-17
| 申请号 | CN202021125759.X |
| 申请日 | 2020-06-17 |
| 授权公布号 | CN213329581U |
| 授权公告日 | 2021-06-01 |
| 分类号 | H02S40/42;H02S20/26;F24S25/61;E04B1/76;E04C2/284;E04C2/38;E04B2/88;E04B2/96;E04C2/52;E04B1/74;E04C2/34 |
| 分类 | 建筑物; |
| 申请人名称 | 卧牛山建筑节能有限公司 |
| 申请人地址 | 江苏省南京市江宁区秣陵街道秣周东路12号 |
专利法律状态
2021-06-01
授权
状态信息
授权
摘要
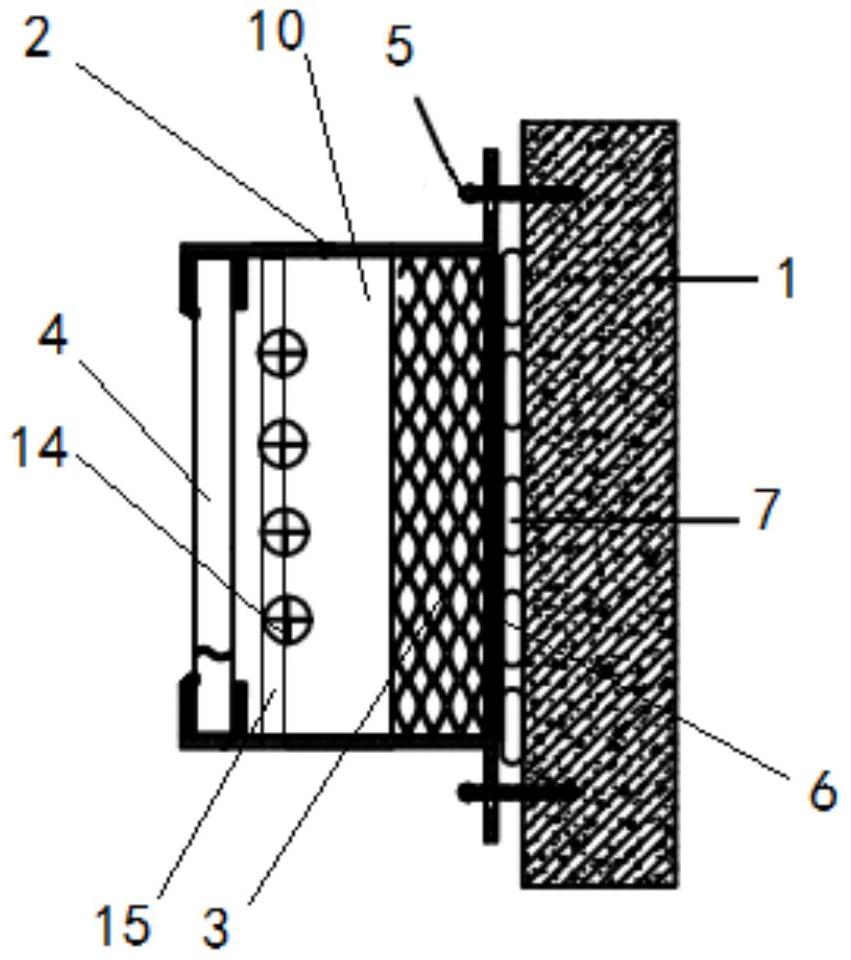
本实用新型公开了一种散热保温发电一体化板。该一体化板可以包括:发电组件,固定边框组与发电组件连接,用于将发电组件连接于墙体,保温层与固定边框组连接,保温层设于发电组件朝向墙体的一侧,且发电组件和保温层之间设有空腔,散热装置,散热装置位于空腔内。本实用新型通过散热装置可以调节发电组件的温度,环境温度低时对保温层补热,提高建筑节能系数。环境温度高时对发电组件进行散热,提升组件发电效率。通过固定边框组粘贴加锚固或龙骨固定的方式将发电组件稳定的固定于墙体上,使其发电组件不易脱落,增强其稳定性,且固定边框组安装简单,减少了安装时间,降低了安装成本,该一体化板在保温节能的同时对建筑发电供能。


