授权公布号:CN213035875U
石材大板电瓶液压车
有效
申请
2020-07-31
申请公布
1970-01-01
授权
2021-04-23
预估到期
2030-07-31
| 申请号 | CN202021577009.6 |
| 申请日 | 2020-07-31 |
| 授权公布号 | CN213035875U |
| 授权公告日 | 2021-04-23 |
| 分类号 | B62B3/04;B62B5/00 |
| 分类 | 无轨陆用车辆; |
| 申请人名称 | 环球石材(东莞)股份有限公司 |
| 申请人地址 | 广东省东莞市长安镇厦岗村 |
专利法律状态
2021-04-23
授权
状态信息
授权
摘要
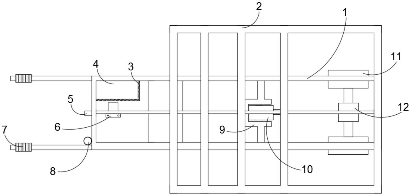
本实用新型公开了一种石材大板电瓶液压车,包括车架,所述车架内转动连接有车轴,所述车轴的两端均固定连接有车轮,所述车架内固定连接有电瓶箱,所述车架内固定连接有电流表,所述电流表与电瓶箱电性相接,所述车架内固定连接有车轮驱动系统和液压系统,所述车架内固定连接有油箱,所述车架内转动连接有油缸,所述油缸与油箱内部连通,所述油缸的端部固定连接有短接杆,所述车架内固定连接有两个固定座,所述固定座内转动连接有转动座,两个所述转动座的一侧固定连接有板架。本实用新型涉及石材大板加工技术领域,通过对大板专用推车设备及工装的改进来降低劳动强度,提高生产效率,减少安全隐患,减少了生产无形成本。


