授权公布号:CN220361261U
一种磨辊压机用的自动调节进料装置
有效
申请
2023-03-16
申请公布
1970-01-01
授权
2024-01-19
预估到期
2033-03-16
| 申请号 | CN202320520368.5 |
| 申请日 | 2023-03-16 |
| 授权公布号 | CN220361261U |
| 授权公告日 | 2024-01-19 |
| 分类号 | B02C4/28;B02C23/02 |
| 分类 | 破碎、磨粉或粉碎;谷物碾磨的预处理; |
| 申请人名称 | 台泥(英德)水泥有限公司 |
| 申请人地址 | 广东省清远市英德市英城镇观音山 |
专利法律状态
2024-01-19
授权
状态信息
授权
摘要
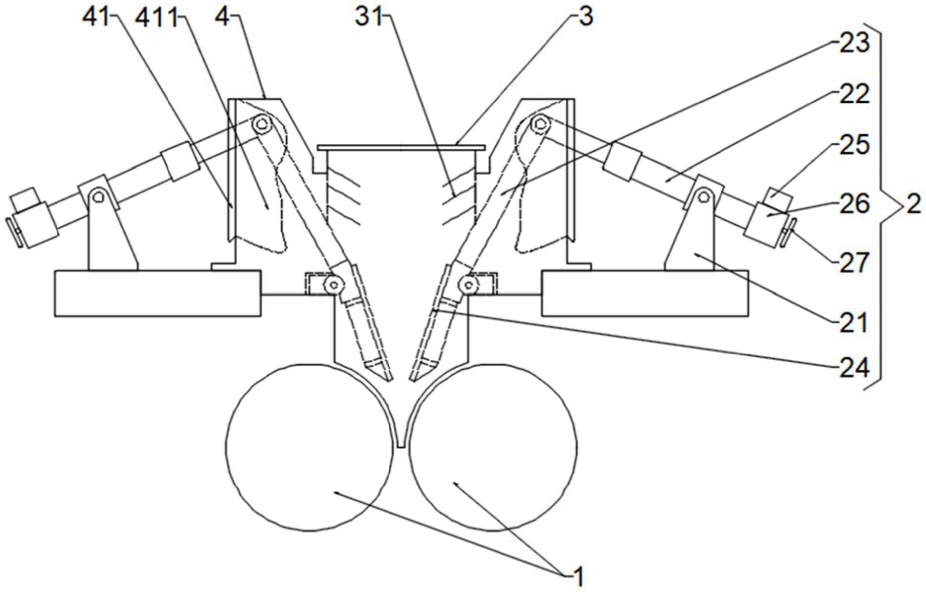
本实用新型公开了一种磨辊压机用的自动调节进料装置,其包括对辊、进料调节组件、进料斗和防尘罩,对辊位于进料斗的下方,进料调节组件对称分布在进料斗的两侧,进料调节组件包括基座、推杆组件、摆臂、斜插闸板、驱动单元和角度传感器,基座固定在进料斗的侧端,推杆组件铰接在基座上,摆臂的一端与推杆组件的端部铰接;其另一端铰接在进料斗上,斜插闸板安装在摆臂的下端并位于进料斗内,斜插闸板的表面设有耐磨板,两个斜插闸板形成一个物料通道,物料通道位于对辊上方,驱动单元与推杆组件传动连接,角度传感器安装在推杆组件的一端,用于检测斜插闸板的角度,防尘罩安在装进料调节组件和进料斗之间,防尘罩与进料斗的外壁连接;本实用新型解决了现有磨辊机进料装置手动调节效率低,调节螺杆易卡死,斜插闸板易损坏,扬尘冒灰严重的问题。


