授权公布号:CN210108006U
一种回转窑冷却筒用防飞溅装置
有效
申请
2018-09-26
申请公布
1970-01-01
授权
2020-02-21
预估到期
2028-09-26
| 申请号 | CN201821567577.0 |
| 申请日 | 2018-09-26 |
| 授权公布号 | CN210108006U |
| 授权公告日 | 2020-02-21 |
| 分类号 | F27B7/38;F27B7/20 |
| 分类 | 炉;窑;烘烤炉;蒸馏炉〔4〕; |
| 申请人名称 | 瑞泰科技股份有限公司 |
| 申请人地址 | 北京市朝阳区五里桥一街一号院27#楼 |
专利法律状态
2020-02-21
授权
状态信息
授权
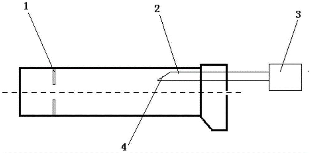
摘要
本实用新型涉及一种回转窑冷却筒用防飞溅装置,该装置由窑桶回风挡板(1)、高速风喷管(2)、高速风机(3)组成,高速风喷管(2)通过高速风机(3)向回转窑桶内吹入大量、高速气流,气流并经由窑桶回风挡板(1)循环回窑尾,促使回转窑上部区域形成正压气流环区,减小了微粉熟料在回转窑里的飞扬,并有效杜绝了在窑尾区域产生微粉扬尘区的现象。


