授权公布号:CN215830726U
一种余热发电站用高效节能水泵
有效
申请
2021-08-30
申请公布
1970-01-01
授权
2022-02-15
预估到期
2031-08-30
| 申请号 | CN202122072502.3 |
| 申请日 | 2021-08-30 |
| 授权公布号 | CN215830726U |
| 授权公告日 | 2022-02-15 |
| 分类号 | F04D1/00;F04D29/02;F04D29/66;F04D29/22;F04D29/42 |
| 分类 | 液体变容式机械;液体泵或弹性流体泵; |
| 申请人名称 | 浙江金圆水泥有限公司 |
| 申请人地址 | 浙江省金华市婺城区竹马乡 |
专利法律状态
2022-02-15
授权
状态信息
授权
摘要
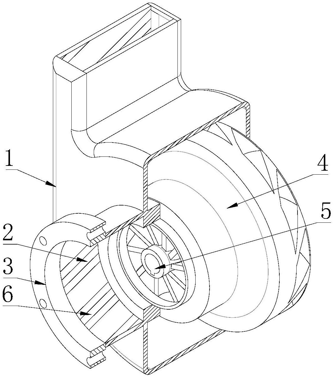
本实用新型涉及水泵设计技术领域,具体是一种余热发电站用高效节能水泵,包括泵壳以及安装在泵壳内部的叶轮组件,所述泵壳的顶部开设有第一安装孔,所述泵壳的一边外壁的中部开设有第二安装孔,所述第一安装孔的内壁固定有出水道,所述第二安装孔的内壁固定有吸水道,所述泵壳的内壁、吸水道的内壁、出水道的内壁和叶轮组件均涂抹有涂层,本实用新型能够通过设置有涂层,涂层成分:聚乙二醇、环氧树脂、陶瓷颗粒,这样使得泵壳和叶轮组件具有抗汽蚀、磨蚀的能力,同时涂层分子结构具有致密性,能隔绝空气、水等介质的接触,从而改善了水泵的运行性能,降低磨损的同时降低水泵水力损失。


