授权公布号:CN217613943U
一种水泥窑智能精准脱硝装置
有效
申请
2022-05-07
申请公布
1970-01-01
授权
2022-10-21
预估到期
2032-05-07
| 申请号 | CN202221081191.5 |
| 申请日 | 2022-05-07 |
| 授权公布号 | CN217613943U |
| 授权公告日 | 2022-10-21 |
| 分类号 | B01D53/56;B01D53/90;B01D53/79;B05B15/18 |
| 分类 | 一般的物理或化学的方法或装置; |
| 申请人名称 | 浙江金圆水泥有限公司 |
| 申请人地址 | 浙江省金华市婺城区竹马乡 |
专利法律状态
2022-10-21
授权
状态信息
授权
摘要
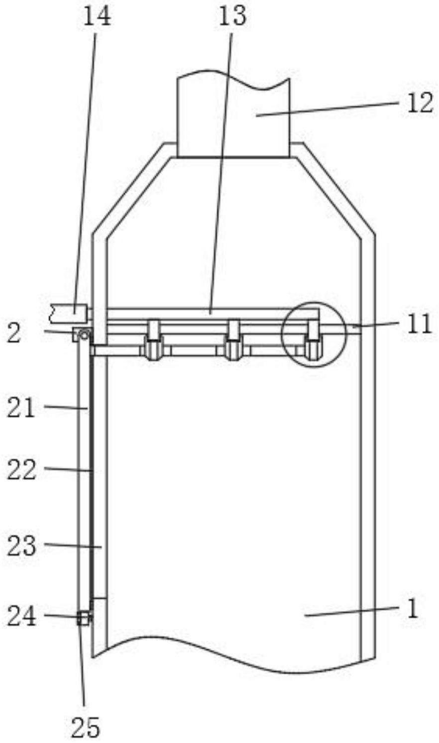
本实用新型涉及脱销装置技术领域,尤其涉及一种水泥窑智能精准脱硝装置。其技术方案包括:脱销塔本体、卡套、挡板和支撑板,所述脱销塔本体内壁一侧安装有固定板,所述固定板内部插接安装有分流管,所述脱销塔本体一侧外壁开设有活动槽,所述脱销塔本体两侧外壁均安装有卡套,所述卡套内部转动安装有挡板,所述挡板贯穿卡套一端外壁设置有电机,所述挡板一侧外壁安装有支撑板,所述支撑板内部设置有矩形阵列分布的喷头本体,通过设置挡板、支撑板和喷头本体,达到了喷头本体便于维护的效果,提高了喷头本体的维护效率。


