授权公布号:CN211429253U
一种光伏组件安装结构及光伏系统
有效
申请
2020-02-26
申请公布
1970-01-01
授权
2020-09-04
预估到期
2030-02-26
| 申请号 | CN202020211198.9 |
| 申请日 | 2020-02-26 |
| 授权公布号 | CN211429253U |
| 授权公告日 | 2020-09-04 |
| 分类号 | H02S30/10 |
| 分类 | 发电、变电或配电; |
| 申请人名称 | 江苏力宝建材工业有限公司 |
| 申请人地址 | 江苏省苏州市常熟市虞山高新区阳光大道99号 |
专利法律状态
2023-04-25
专利申请权、专利权的转移
状态信息
专利权的转移;IPC(主分类):H02S 30/10;专利号:ZL2020202111989;登记生效日:20230412;变更事项:专利权人;变更前权利人:江苏力宝建材工业有限公司;变更后权利人:江苏中坚金属材料有限公司;变更事项:地址;变更前权利人:215557 江苏省苏州市常熟市常福街道阳光大道97号;变更后权利人:215500 江苏省苏州市常熟市虞山高新区阳光大道99号
2020-09-04
授权
状态信息
授权
摘要
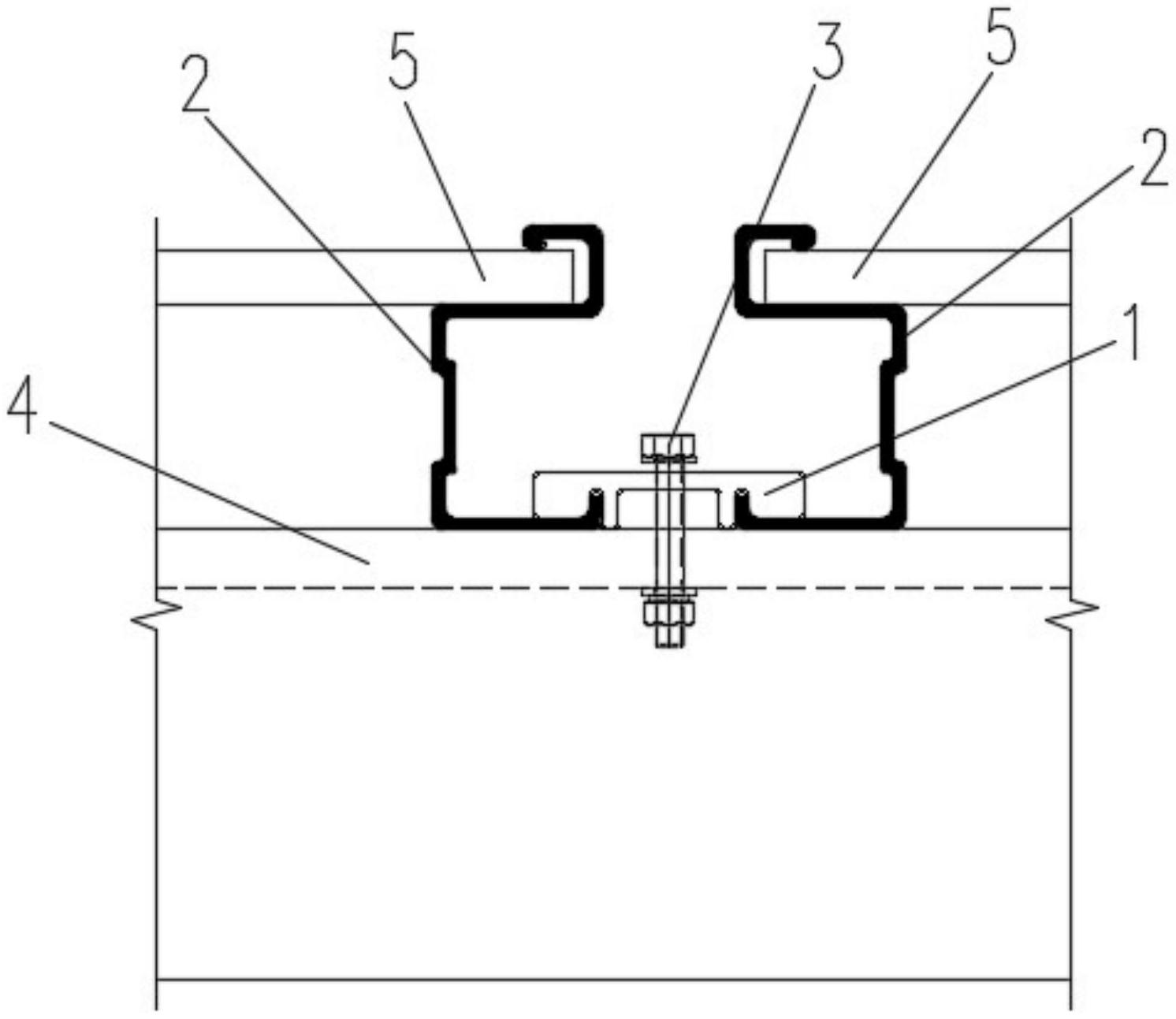
本实用新型提供一种光伏组件安装结构及光伏系统。该安装结构包括组件压块和组件边框;组件压块上设置有至少一个凹口;组件边框底边的一端设置有筋条,筋条插入组件压块的凹口内,以实现组件边框与组件压块之间的相对固定。本实用新型提供的光伏组件安装结构,通过在组件压块上设置凹口,同时在组件边框底边的一端设置筋条,并使组件边框底边一端的筋条插入组件压块的凹口内,以实现组件边框与组件压块之间的相对固定,以使得该组件安装结构能够安全、可靠地固定光伏组件;同时该组件安装结构具有受力均匀的优点,以使得组件边框不会因局部应力集中而损毁组件边框;并且,本实用新型中的光伏组件安装结构便于边框的拆卸和更换。


