授权公布号:CN214716408U
一种云石胶生产的添加剂定量配比装置
有效
申请
2021-03-16
申请公布
1970-01-01
授权
2021-11-16
预估到期
2031-03-16
| 申请号 | CN202120542582.1 |
| 申请日 | 2021-03-16 |
| 授权公布号 | CN214716408U |
| 授权公告日 | 2021-11-16 |
| 分类号 | B01F15/04;B01F15/02;B01F15/00 |
| 分类 | 一般的物理或化学的方法或装置; |
| 申请人名称 | 武汉市石代高新建材有限公司 |
| 申请人地址 | 湖北省武汉市东西湖区柏泉农场南湖大队(柏泉杜公湖)2栋(厂房)1-2层(9) |
专利法律状态
2021-11-16
授权
状态信息
授权
摘要
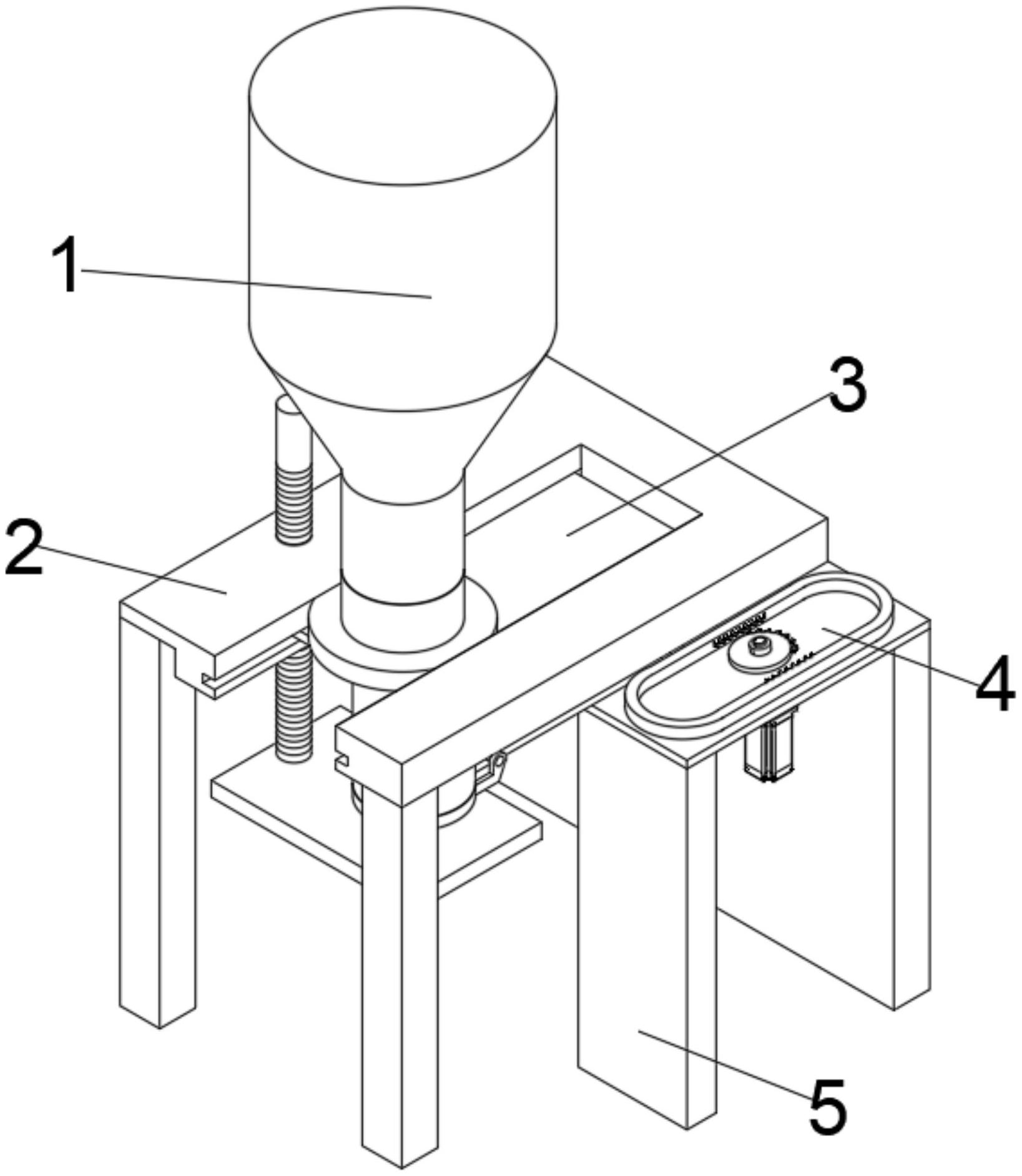
本实用新型涉及云石胶添加剂定量配比技术领域,具体地说,涉及一种云石胶生产的添加剂定量配比装置。其包括添加桶,添加桶的底端连接有支撑装置,支撑装置的内侧设有定量移动装置,支撑装置的一侧设有驱动装置,支撑装置和驱动装置的底端均固定连接有固定板,支撑装置包括支撑板,定量移动装置包括移动板。本实用新型设计通过设置的定量移动装置中的定量桶将准确的在云石胶生产中增添添加剂,防止出现人工配比产生的误差,让云石胶的特性充分发挥,通过驱动装置中的齿轮盘和驱动齿的啮合配合,带动移动环的往复运动,从而将定量桶中的添加剂放入云石胶生产过程中,减少人工的倒入,达到方便快捷并且减少人工成本。


