授权公布号:CN219028657U
一种压机复合导向装置
有效
申请
2022-11-23
申请公布
1970-01-01
授权
2023-05-16
预估到期
2032-11-23
| 申请号 | CN202223116617.9 |
| 申请日 | 2022-11-23 |
| 授权公布号 | CN219028657U |
| 授权公告日 | 2023-05-16 |
| 分类号 | B30B15/04 |
| 分类 | 压力机; |
| 申请人名称 | 科达制造股份有限公司 |
| 申请人地址 | 广东省佛山市顺德区陈村镇广隆工业园环镇西路1号 |
专利法律状态
2023-05-16
授权
状态信息
授权
摘要
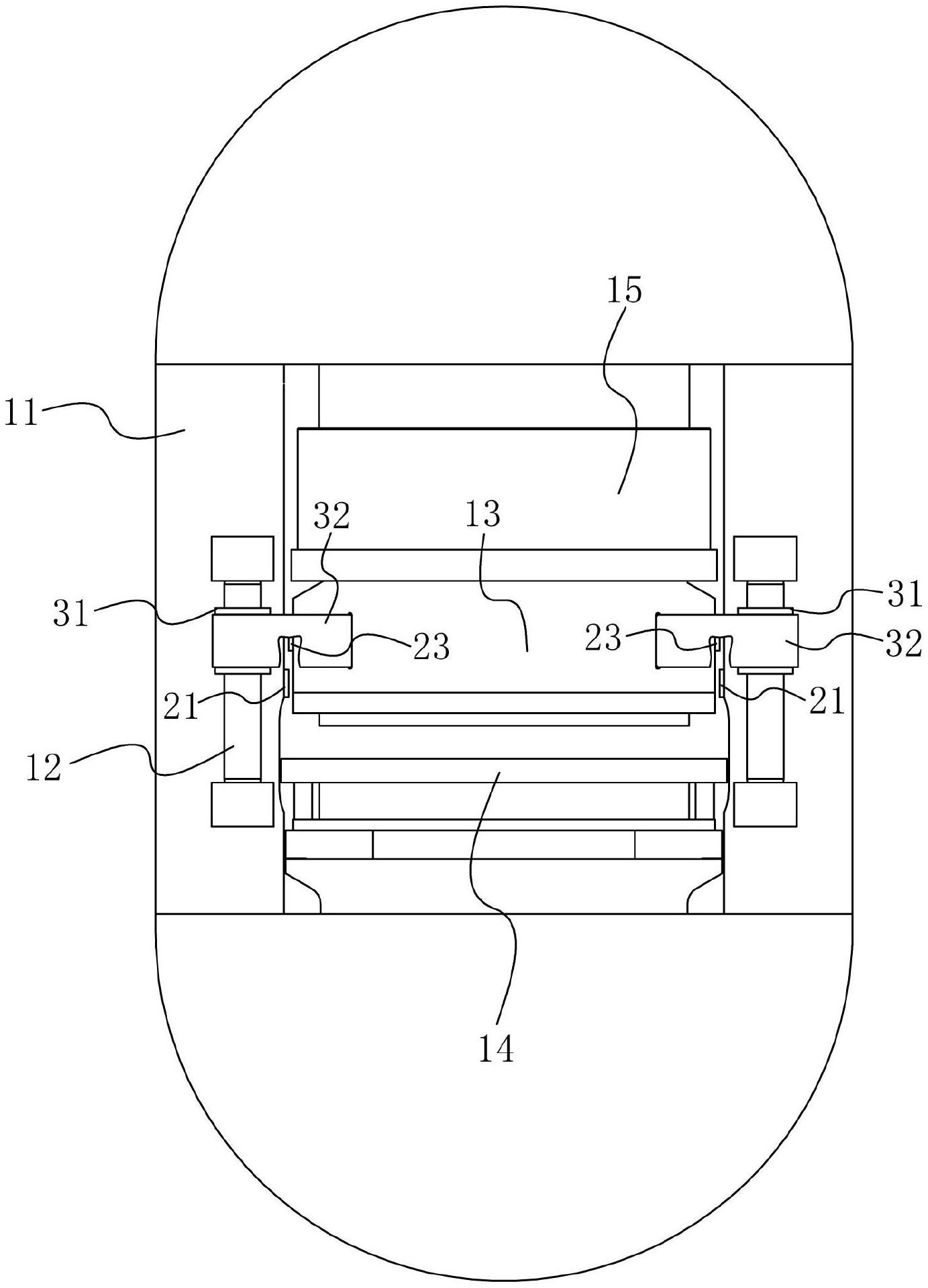
本实用新型公开了一种压机复合导向装置,包括支架、导向柱和动梁装置,所述导向柱固定安装在支架上,所述动梁装置设有连接机构,所述连接机构与导向柱滑动连接,所述支架固定安装有定导向板,所述动梁装置固定安装有动导向板,所述定导向板的一侧设有定接触侧面,所述动导向板的一侧设有动接触侧面,所述定接触侧面与动接触侧面抵接,所述定导向板与动导向板之间设有避位空间,所述避位空间的宽度小于连接机构在导向柱上的运动行程。本实用新型取得的有益效果:能够大大减小压机驱动件受到的横向载荷,达到使用寿命较高的优点。减小动导向板和定导向板的长度,从而大大降低了动导向板和定导向板的加工成本。


