授权公布号:CN215748000U
一种C型弯管内侧钻孔攻丝装置
有效
申请
2021-03-30
申请公布
1970-01-01
授权
2022-02-08
预估到期
2031-03-30
| 申请号 | CN202120639003.5 |
| 申请日 | 2021-03-30 |
| 授权公布号 | CN215748000U |
| 授权公告日 | 2022-02-08 |
| 分类号 | B23Q5/04;B23Q3/06;B23P23/02 |
| 分类 | 机床;不包含在其他类目中的金属加工; |
| 申请人名称 | 九江财兴卫浴实业有限公司 |
| 申请人地址 | 江西省九江市濂溪区十里大道2009号 |
专利法律状态
2022-02-08
授权
状态信息
授权
摘要
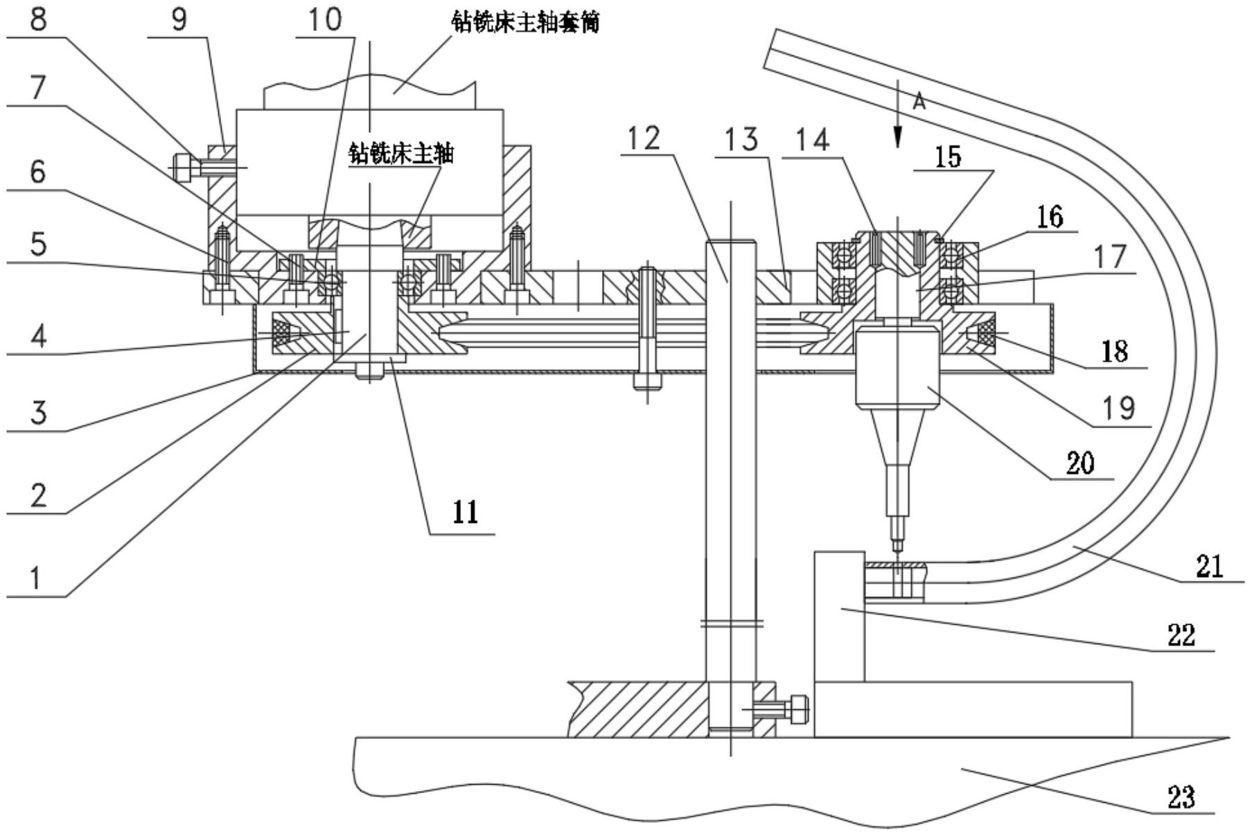
本实用公开了一种C型弯管内侧螺纹加工装置,包括钻铣床,所述钻铣床的钻铣床主轴与动力输出轴的上端连接,钻铣床主轴套筒上安装有固定套,动力输出轴通过深沟球轴承一与固定套的安装连接,固定套的下端安装有延伸轴支承架,延伸轴支承架的一端延伸到钻铣床主轴的一侧,且该端安装有夹头固定座,输出轴的下端与小皮带轮连接,小皮带轮与大皮带轮传动连接,大皮带轮的上安装有钻夹头芯轴,钻夹头芯轴下方安装有钻夹头,延伸轴支承架的下方设有固定座,固定座上固定安装有工件定位夹紧装置;通过将传统的钻铣床改造成专门针对C型弯管内侧钻孔攻丝装置,有效保证螺孔加工的位置度,降低操作工人的工作强度。


