授权公布号:CN214754801U
一种防过热型低压开关柜
有效
申请
2021-01-28
申请公布
1970-01-01
授权
2021-11-16
预估到期
2031-01-28
| 申请号 | CN202120239972.1 |
| 申请日 | 2021-01-28 |
| 授权公布号 | CN214754801U |
| 授权公告日 | 2021-11-16 |
| 分类号 | H02B1/30;H02B1/56;H02B1/28 |
| 分类 | 发电、变电或配电; |
| 申请人名称 | 扬中市长江电器设备厂有限公司 |
| 申请人地址 | 江苏省镇江市扬中市新坝镇前进西路 |
专利法律状态
2021-11-16
授权
状态信息
授权
摘要
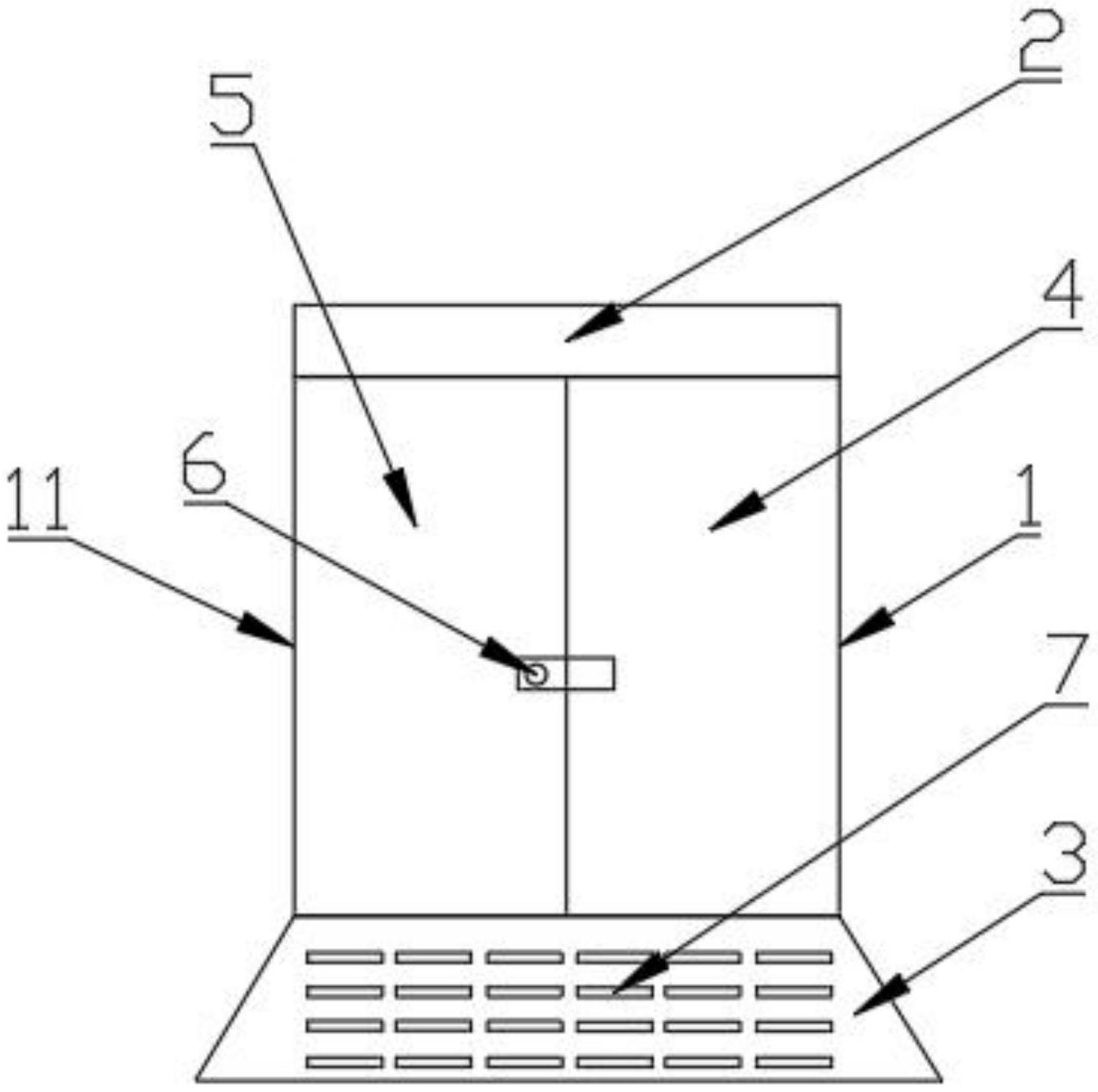
本实用新型公开了一种防过热型低压开关柜,包括开关柜体,开关柜体由依次连接的上盖、主柜体、散热底座组成;散热底座的形状为梯形,主柜体的上表面的内壁上涂有导热涂层,所述的主柜体的上表面的中部设有若干个散热条,散热条的右侧设有温度探测仪;上盖的顶部、主柜体的底部均设有排风扇;主柜体由左开门、右开门、内部元件组成,左开门与右开门的闭合处设有智能开关;散热底座的四周设有散热孔,本实用新型结构简单,使用、安装方便,操作简单,适用范围广,温度探测仪可实时检测开关柜体的温度,有效的防止开关柜体的温度过高,产生损坏,排风扇与散热孔配合散热效果好,线路排布合理,使用寿命长,具有安全可靠的作用。


