授权公布号:CN213208183U
一种风管消音降噪装置
有效
申请
2020-09-14
申请公布
1970-01-01
授权
2021-05-14
预估到期
2030-09-14
| 申请号 | CN202022002239.6 |
| 申请日 | 2020-09-14 |
| 授权公布号 | CN213208183U |
| 授权公告日 | 2021-05-14 |
| 分类号 | F24F13/02;F24F13/24 |
| 分类 | 供热;炉灶;通风; |
| 申请人名称 | 天津奥特浦斯机电设备有限公司 |
| 申请人地址 | 天津市北辰区北辰科技园区宜兴埠工业园景远路 |
专利法律状态
2021-05-14
授权
状态信息
授权
摘要
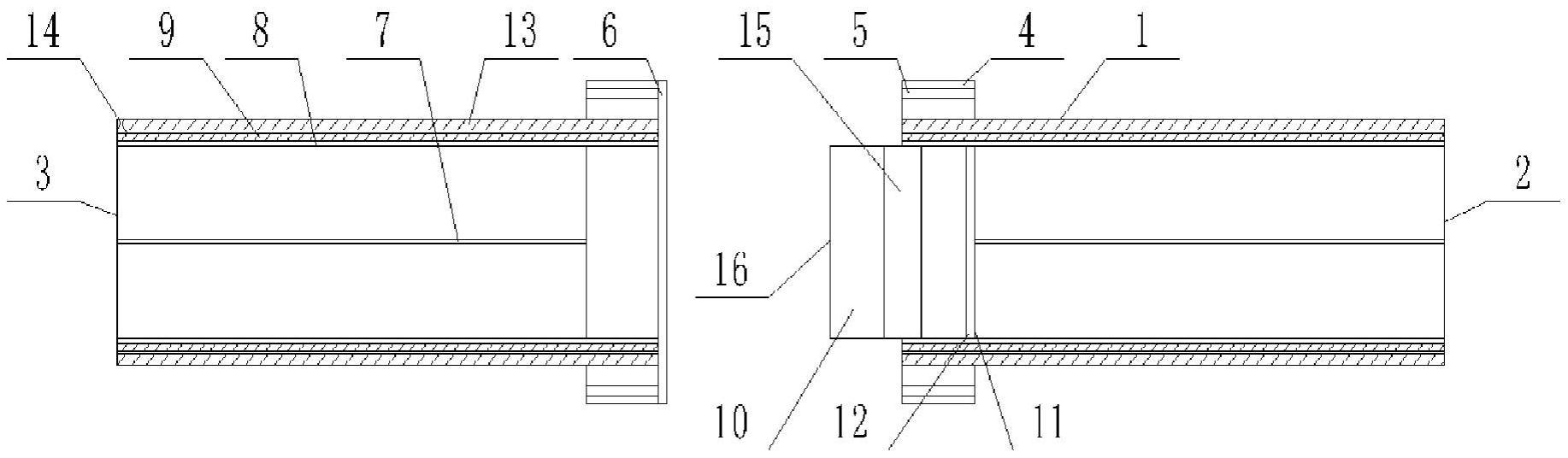
本实用新型公开了一种风管消音降噪装置,包括管形壳,所述管形壳上设置有一号进风口以及一号出风口,所述管形壳中设置有消音机构,所述管形壳上表面设置有连接套环,所述连接套环上设置有连接孔,所述连接套环上设置有密封件,所述管形壳中设置有过滤机构;本实用新型可大量减少噪音,并且可以净化空气质量,还有降噪、节能和环保的特点。


