授权公布号:CN213811082U
一种防传声单向排风降噪管路
有效
申请
2020-09-14
申请公布
1970-01-01
授权
2021-07-27
预估到期
2030-09-14
| 申请号 | CN202022003582.2 |
| 申请日 | 2020-09-14 |
| 授权公布号 | CN213811082U |
| 授权公告日 | 2021-07-27 |
| 分类号 | F24F13/02;F24F13/24 |
| 分类 | 供热;炉灶;通风; |
| 申请人名称 | 天津奥特浦斯机电设备有限公司 |
| 申请人地址 | 天津市北辰区北辰科技园区宜兴埠工业园景远路 |
专利法律状态
2021-07-27
授权
状态信息
授权
2020-09-14
公布
状态信息
公布
摘要
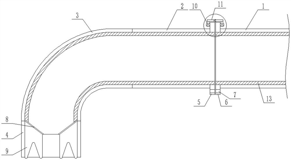
本实用新型公开了一种防传声单向排风降噪管路,包括一号管道、二号管道、弯头管以及连接管,所述一号管道与所述二号管道之间设置有密封连接机构,所述连接管内设置有防噪音传导机构。本实用新型可以对排风管进行实现只传风不传声的效果,大大的降低了室内的噪音通过排风管道进行传播的现象发生。


