授权公布号:CN212721252U
一种用于检测轴承孔环槽深度的检具
有效
申请
2020-09-23
申请公布
1970-01-01
授权
2021-03-16
预估到期
2030-09-23
| 申请号 | CN202022109380.6 |
| 申请日 | 2020-09-23 |
| 授权公布号 | CN212721252U |
| 授权公告日 | 2021-03-16 |
| 分类号 | G01B5/18 |
| 分类 | 测量;测试; |
| 申请人名称 | 重庆宗申动力机械股份有限公司 |
| 申请人地址 | 重庆市巴南区炒油场宗申工业园 |
专利法律状态
2021-03-16
授权
状态信息
授权
摘要
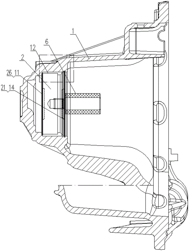
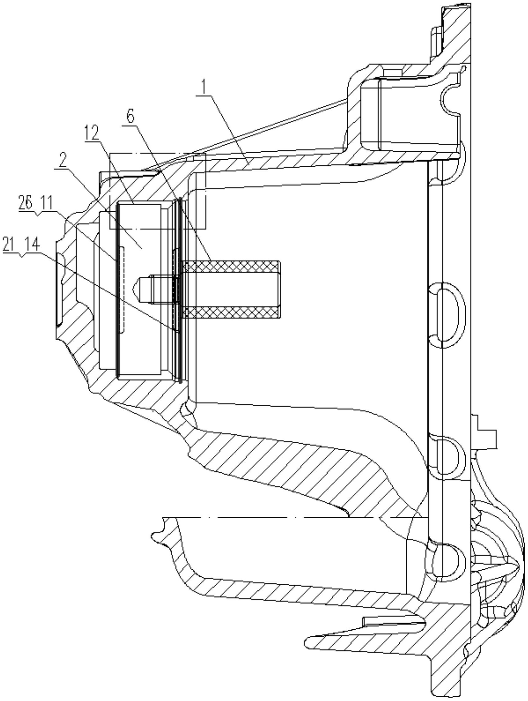
本实用新型提供了一种用于检测轴承孔环槽深度的检具,包括适配于工件的轴承孔的检测部,检测部上设置有手柄,检测部包括上圆柱体和下圆柱体,上圆柱体用于检测轴承孔的环槽深度,下圆柱体的底端面用于抵靠轴承孔的底面,上圆柱体的上端面抵靠轴承孔的顶面。检测部为两套,其中一套是通端检测部,另一套是止端检测部,通端检测部的上圆柱体标准高度小于合格环槽高度,止端检测部的上圆柱体标准高度大于合格环槽高度。本实用新型具有结构简单、使用可靠、检具制造方便、成本低廉等优点,采用本实用新型提供的检具,能够以极其简单结构实现轴承孔环槽深度的非破坏性检测,大幅提高轴承孔环槽深度的检测效率,降低检测成本。


