授权公布号:CN217343532U
一种具有交叉抽芯的压铸模具
有效
申请
2022-06-08
申请公布
1970-01-01
授权
2022-09-02
预估到期
2032-06-08
| 申请号 | CN202221414069.5 |
| 申请日 | 2022-06-08 |
| 授权公布号 | CN217343532U |
| 授权公告日 | 2022-09-02 |
| 分类号 | B22D17/22 |
| 分类 | 铸造;粉末冶金; |
| 申请人名称 | 重庆宗申动力机械股份有限公司 |
| 申请人地址 | 重庆市巴南区炒油场宗申工业园 |
专利法律状态
2022-09-02
授权
状态信息
授权
摘要
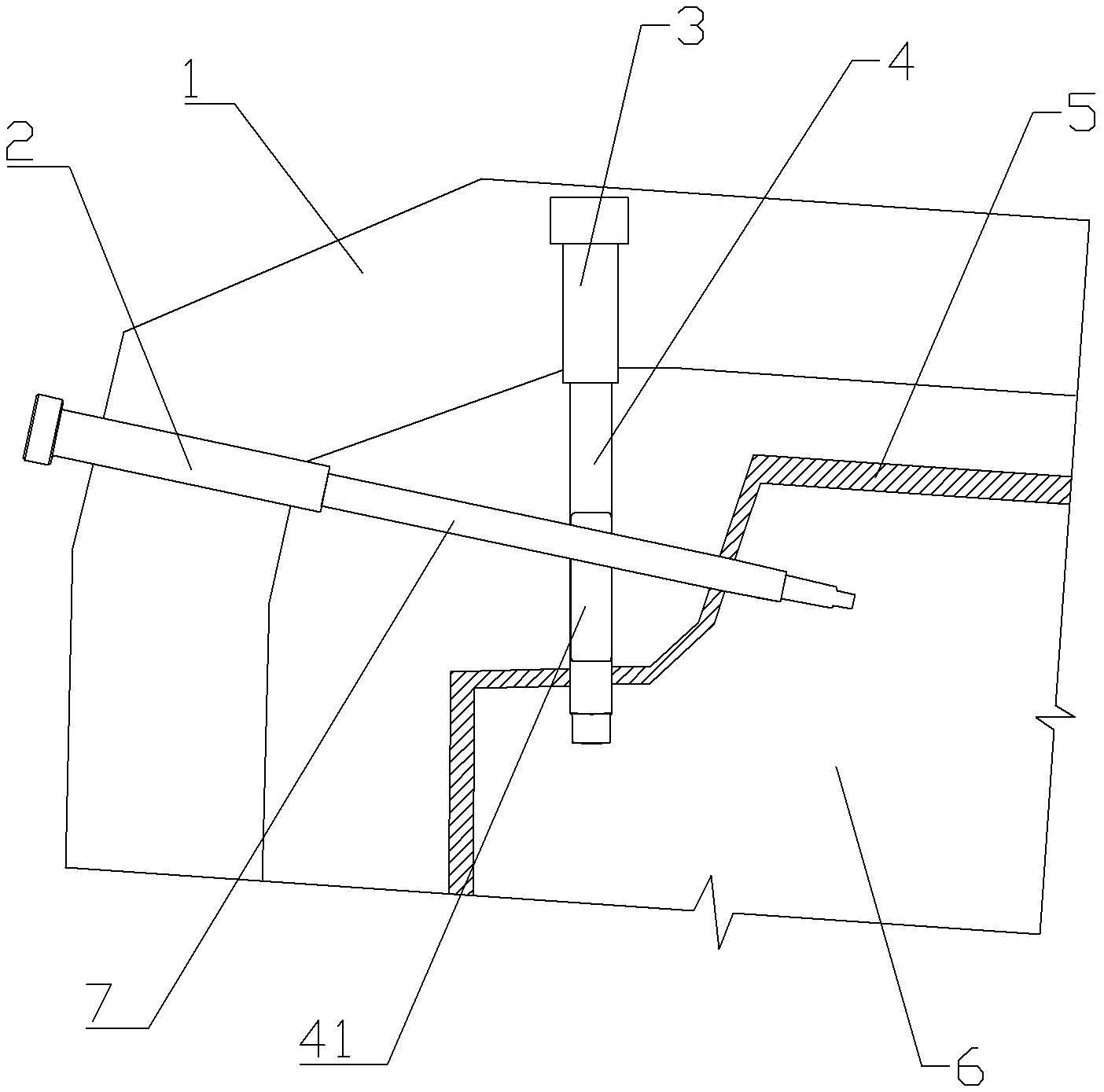
本实用新型涉及铝合金的压铸模具,具体为一种具有交叉抽芯的压铸模具,包括模座和具有一个产品成型腔的模芯,所述模芯上设置有与产品成型腔连通的第一定位孔和第二定位孔,所述模座上滑动设置有与第一定位孔对应的第一抽芯和与第二定位孔对应的第二抽芯,所述第一抽芯上设置有供第二抽芯移动的缺口,所述模座上安装有用于驱动第一抽芯移动的第一伸缩机构和用于驱动第二抽芯移动的第二伸缩机构。本方案解决了现有技术中产品具有延长线相交的相邻两个孔时难以直接进行压铸形成两个孔,从而导致产品的生产工序复杂的问题。


