授权公布号:CN220201757U
光学玻璃连续二次成型装置
有效
申请
2023-08-24
申请公布
1970-01-01
授权
2023-12-19
预估到期
2033-08-24
| 申请号 | CN202322289520.6 |
| 申请日 | 2023-08-24 |
| 授权公布号 | CN220201757U |
| 授权公告日 | 2023-12-19 |
| 分类号 | C03B23/023;C03B23/00 |
| 分类 | 玻璃;矿棉或渣棉; |
| 申请人名称 | 成都光明光电股份有限公司 |
| 申请人地址 | 四川省成都市龙泉驿区成龙大道三段359号 |
专利法律状态
2023-12-19
授权
状态信息
授权
摘要
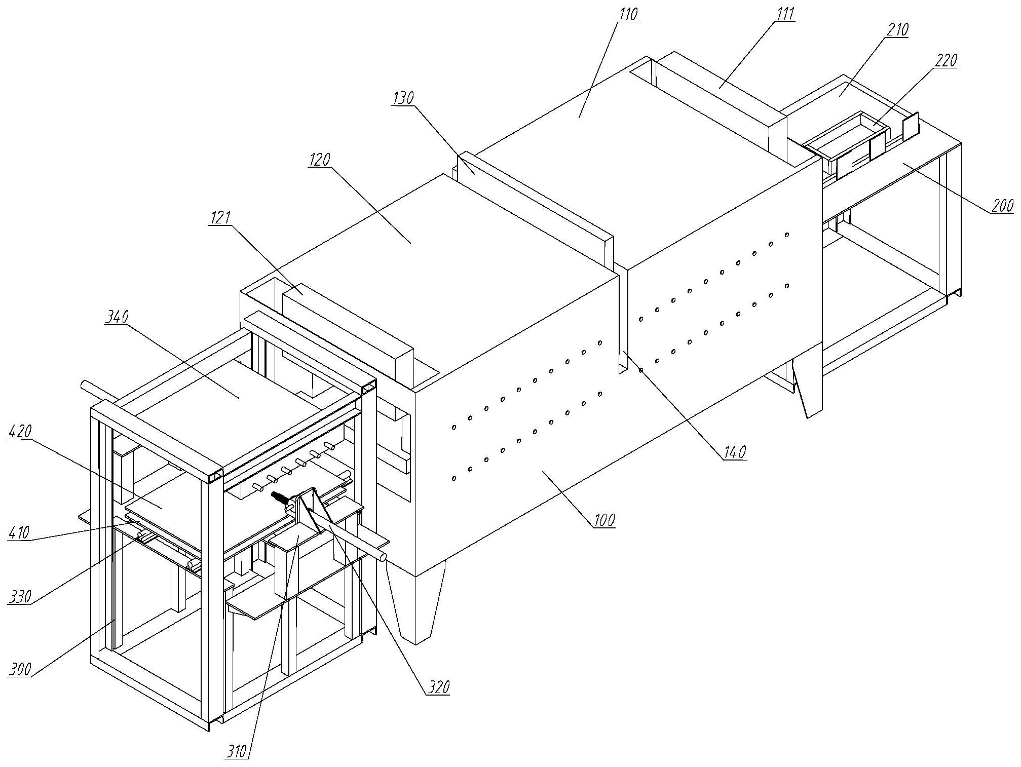
本实用新型公开了光学玻璃连续二次成型装置,包括软化炉、组装平台和操作平台;本实用新型通过设置由低温区和高温区连通组成的软化炉以及设置与低温区对接的组装平台和与高温区对接的操作平台,使待成型的光学玻璃产品能够依次通过低温区和高温区完成温度逐步升高的加热工作以达到设定的软化温度,最后在操作平台上通过推模机构对产品进行三个方向上的推模挤压以完成二次成型中的推模操作;本实用新型结构简单、操作方便,能够实现光学玻璃产品的连续二次成型,使光学玻璃产品的二次成型工作以流水线的方式进行,从而有效提高生产效率、降低劳动强度。


