授权公布号:CN110284968B
一种适用于不带飞轮壳柴油机的手动盘车联锁装置
有效
申请
2019-07-11
申请公布
2019-09-27
授权
2024-03-15
预估到期
2039-07-11
| 申请号 | CN201910622475.7 |
| 申请日 | 2019-07-11 |
| 申请公布号 | CN110284968A |
| 申请公布日 | 2019-09-27 |
| 授权公布号 | CN110284968B |
| 授权公告日 | 2024-03-15 |
| 分类号 | F02B77/00 |
| 分类 | 燃烧发动机;热气或燃烧生成物的发动机装置; |
| 申请人名称 | 河南柴油机重工有限责任公司 |
| 申请人地址 | 河南省洛阳市中州西路173号 |
专利法律状态
2024-03-15
授权
状态信息
授权
2019-09-27
公布
状态信息
公布
摘要
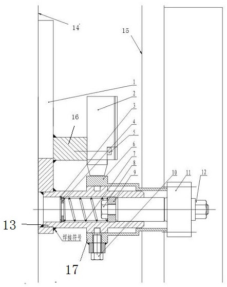
本发明属于柴油机盘车技术领域,涉及一种适用于不带飞轮壳柴油机的手动盘车联锁装置。提出的手动盘车联锁装置具有设置在机体与飞轮齿圈之间的固定支架、焊接在固定支架下部的轴套;轴套的一端焊接在固定支架上,另一端为悬臂端;轴套外壁面中部具有向外凸起的环形凸台,并在环形凸台的中部设有限位凹槽;弹性限位部件的一端固定在轴套内孔内,另一端弹性顶紧在盘车齿轮的一端;盘车齿轮的连接轴位于轴套的通孔内;盘车齿轮的齿轮位于轴套外,并位于飞轮齿圈的外侧;环形凸台上套置有限位套。本发明解决了柴油机不带飞轮壳且安装空间狭窄时无法安装固定形式盘车装置的问题,提高了柴油机手动盘车的便捷和安全性。


