授权公布号:CN113369529B
一种大型发动机凸轮轴孔镗削方法及镗削辅助装置
有效
申请
2021-06-15
申请公布
2021-09-10
授权
2024-03-26
预估到期
2041-06-15
| 申请号 | CN202110661521.1 |
| 申请日 | 2021-06-15 |
| 申请公布号 | CN113369529A |
| 申请公布日 | 2021-09-10 |
| 授权公布号 | CN113369529B |
| 授权公告日 | 2024-03-26 |
| 分类号 | B23B41/00;B23Q3/06 |
| 分类 | 机床;不包含在其他类目中的金属加工; |
| 申请人名称 | 河南柴油机重工有限责任公司 |
| 申请人地址 | 河南省洛阳市涧西区中州西路173号 |
专利法律状态
2024-03-26
授权
状态信息
授权
2021-09-10
公布
状态信息
公布
摘要
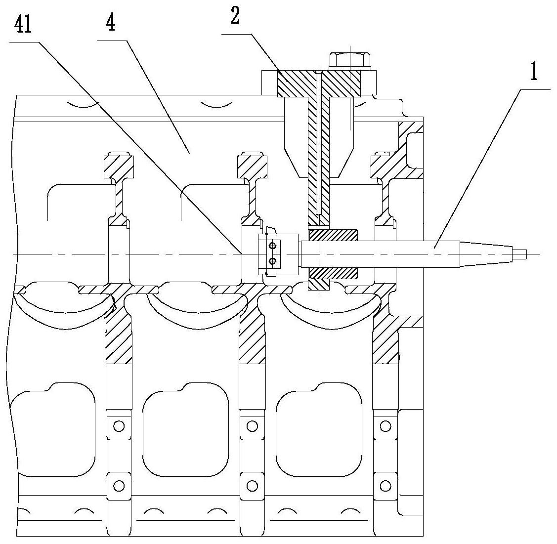
本发明公开一种大型发动机凸轮轴孔镗削方法及镗削辅助装置,涉及一种大型发动机凸轮轴孔镗削方法,包括安装镗刀辅助装置步骤,将镗刀杆组件的导向装置安装固定在发动机机体上,以及将导向装置安装到发动机机体上;启动镗床,镗刀头在导向装置的控制下转动,进行凸轮轴孔的粗镗作业;还涉及一种大型发动机凸轮轴孔镗削辅助装置,包括镗刀杆组件和导向装置;本发明通过导向装置安装在发动机机体上,将导向孔套装在镗刀固定座的根部,使得导向装置最大可能的靠近镗刀头,避免了镗刀杆过长带来的挠度大的问题;采用该方法所加工的凸轮轴孔孔径精度达IT9级,圆柱度达0.05mm,粗糙度Ra≤6.3μm,全长同轴度≤φ0.20mm。


