授权公布号:CN211342695U
一种室外导向钢丝电动防风卷帘
有效
申请
2019-12-31
申请公布
1970-01-01
授权
2020-08-25
预估到期
2029-12-31
| 申请号 | CN201922479201.5 |
| 申请日 | 2019-12-31 |
| 授权公布号 | CN211342695U |
| 授权公告日 | 2020-08-25 |
| 分类号 | E06B9/40 |
| 分类 | 一般门、窗、百叶窗或卷辊遮帘;梯子; |
| 申请人名称 | 上海名扬窗饰制造有限公司 |
| 申请人地址 | 上海市松江区佘山镇佘山工业区民业西路南侧38号 |
专利法律状态
2020-08-25
授权
状态信息
授权
摘要
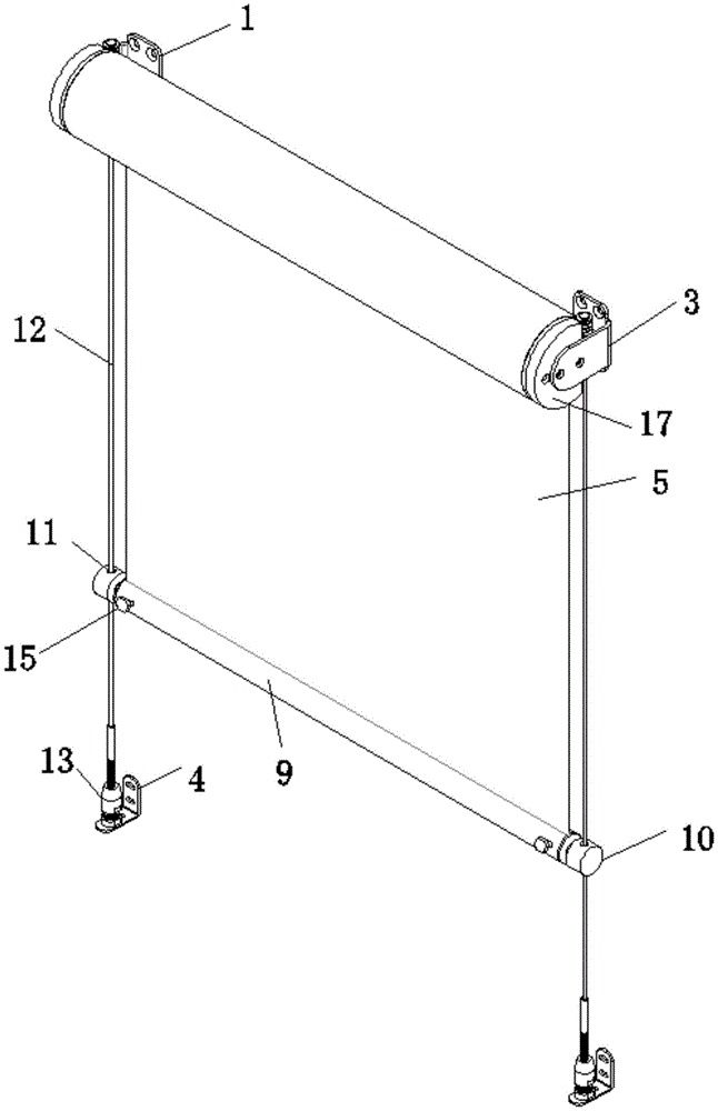
本实用新型涉及电动卷帘技术领域,具体涉及一种室外导向钢丝电动防风卷帘,包括卷轴电机挂脚、卷帘卷管、卷轴尾塞挂脚、下挂脚和卷帘面料,卷轴电机挂脚右端安装有卷轴电机,卷轴电机的输出轴外壁固定有驱动轮,卷轴电机连同驱动轮一起插接于卷帘卷管内部,卷帘卷管的右端安装有尾塞,尾塞转动安装于端封板内部,端封板固定安装于卷轴尾塞挂脚的左端;卷帘卷管的外壁卷绕有卷帘面料,卷帘面料的底端固定有加重底杆,加重底杆的两端均设有导向封头,两个导向封头上开设有导向孔,导向孔内部均穿设有导向钢丝;本实用新型便于调节导向钢丝的绷紧度,结构简单,操作便捷,当导向钢丝处于绷紧状态时,能有效避免卷帘面料左右跑偏。


