授权公布号:CN217537401U
一种针对墙体外保温系统墙脚底部区域的节点结构
有效
申请
2022-05-05
申请公布
1970-01-01
授权
2022-10-04
预估到期
2032-05-05
| 申请号 | CN202221051502.3 |
| 申请日 | 2022-05-05 |
| 授权公布号 | CN217537401U |
| 授权公告日 | 2022-10-04 |
| 分类号 | E04B2/00;E04B1/66;E04B1/76;E04B1/68;E02D31/00 |
| 分类 | 建筑物; |
| 申请人名称 | 上海申得欧有限公司 |
| 申请人地址 | 上海市浦东新区庆达路288号 |
专利法律状态
2022-10-04
授权
状态信息
授权
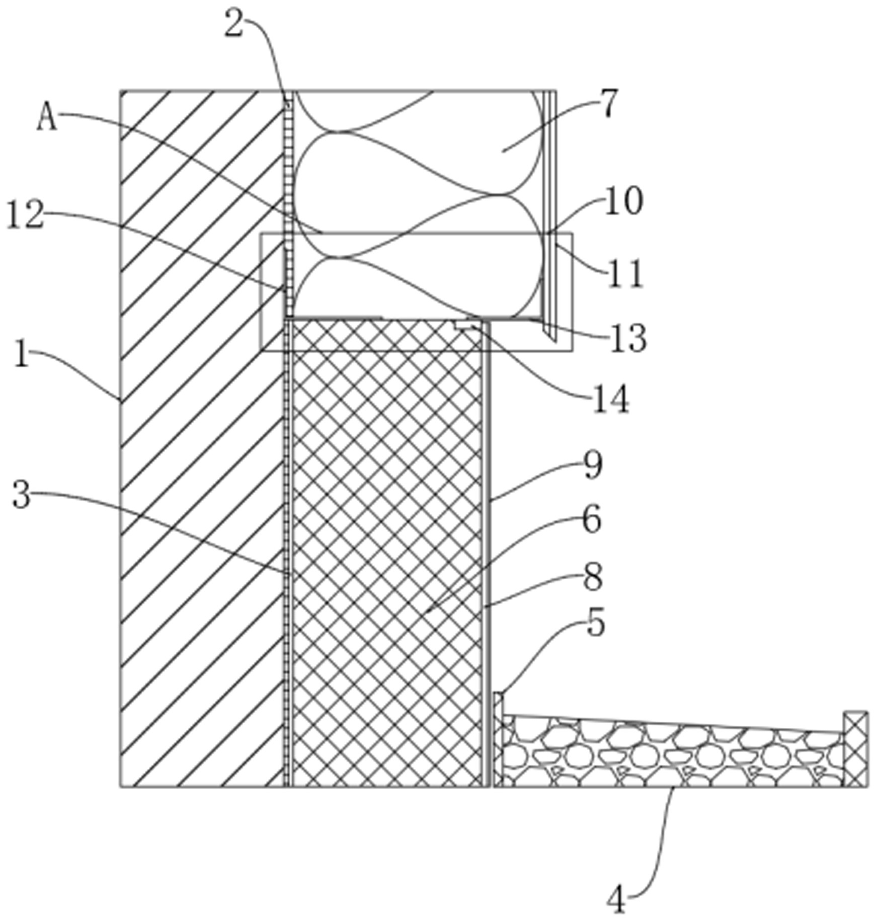
摘要
本实用新型涉及墙体外保温技术领域,且公开了一种针对墙体外保温系统墙脚底部区域的节点结构,包括外墙体,所述外墙体的表面设置有墙面防水层,所述墙面防水层下端的表面设置有防水粘连层,所述防水粘连层的表面设置有底部保温板。该针对墙体外保温系统墙脚底部区域的节点结构,利用底部保温板和上部保温板之间形成的厚度差,除了利于发挥滴水收边条的滴水作用外,从视觉效果底部保温板也处于视线的暗处,对于可能造成的污染也不会太过影响该建筑立面的外观效果,同时通过起始条与滴水收边条的组合,利于增强此处外保温系统的抗撞击强度,使其免于遭受外部荷载所可能导致的系统破损,整体没有太多增加额外的工序,便于施工,提高了实用性。


