授权公布号:CN218843465U
一种建筑外墙用干挂构件及墙体结构
有效
申请
2022-12-06
申请公布
1970-01-01
授权
2023-04-11
预估到期
2032-12-06
| 申请号 | CN202223263430.1 |
| 申请日 | 2022-12-06 |
| 授权公布号 | CN218843465U |
| 授权公告日 | 2023-04-11 |
| 分类号 | E04B2/88;E04B1/76;E04B1/80;E04F13/24;E04F13/25;E04F13/22;E04F13/075 |
| 分类 | 建筑物; |
| 申请人名称 | 亚士创能科技(上海)股份有限公司 |
| 申请人地址 | 上海市青浦区青浦工业园区新涛路28号综合楼三层、四层 |
专利法律状态
2023-04-11
授权
状态信息
授权
摘要
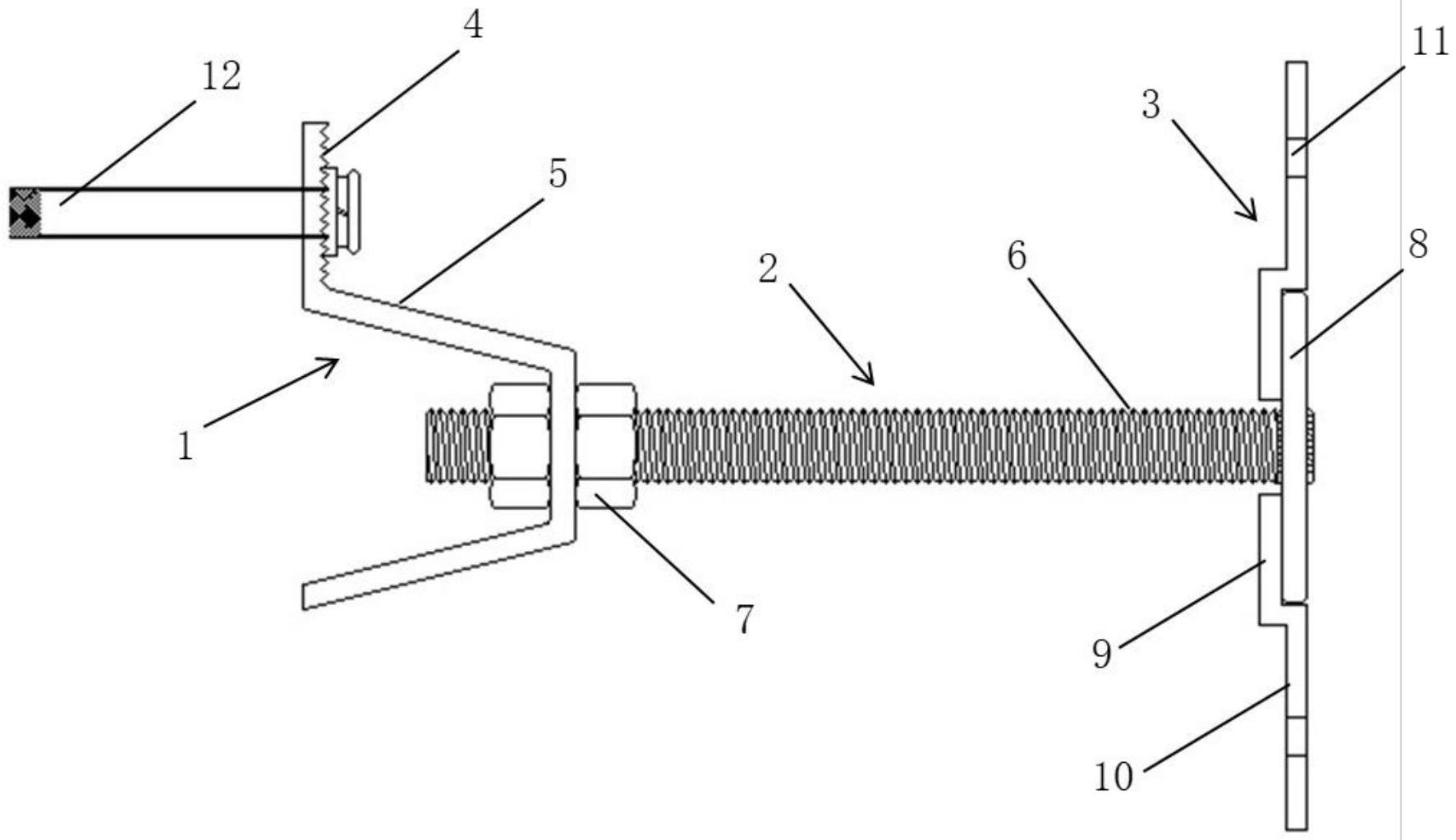
本实用新型提供了一种建筑外墙用干挂构件及墙体结构,所述建筑外墙用干挂构件包括依次可拆卸连接的支撑件、连接件与固定件,所述支撑件为勺型结构,所述支撑件包括相互连接的勺体端与勺柄端,所述勺体端向靠近所述连接件的一侧向外凸起,所述支撑件的勺柄端连接基层墙体;所述连接件包括螺纹杆与限位部,所述螺纹杆与所述限位部形成“T”型结构,所述连接件的螺纹杆活动连接所述支撑件的勺体端,所述连接件的限位部卡接所述固定件。本实用新型可省去龙骨,节约大量时间与人力,连接强度高,在提供足够支撑力的同时不易变形。


