授权公布号:CN212493377U
一种高精密涂料生产研磨装置
有效
申请
2020-04-27
申请公布
1970-01-01
授权
2021-02-09
预估到期
2030-04-27
| 申请号 | CN202020665516.9 |
| 申请日 | 2020-04-27 |
| 授权公布号 | CN212493377U |
| 授权公告日 | 2021-02-09 |
| 分类号 | B02C21/00; |
| 分类 | 破碎、磨粉或粉碎;谷物碾磨的预处理; |
| 申请人名称 | 安徽好思家涂料股份有限公司 |
| 申请人地址 | 安徽省蚌埠市秦集镇秦仁路中段 |
专利法律状态
2023-09-26
专利权质押合同登记的生效、变更及注销
状态信息
专利权质押合同登记的注销;IPC(主分类):B02C 21/00;授权公告日:20210209;申请日:20200427;专利号:ZL2020206655169;登记号:Y2022980017204;出质人:安徽好思家涂料股份有限公司;质权人:蚌埠科技融资担保有限公司;解除日:20230908
2022-10-25
专利权质押合同登记的生效、变更及注销
状态信息
专利权质押合同登记的生效;IPC(主分类):B02C21/00;登记号:Y2022980017204;登记生效日:20220930;出质人:安徽好思家涂料股份有限公司;质权人:蚌埠科技融资担保有限公司;实用新型名称:一种高精密涂料生产研磨装置;申请日:20200427;授权公告日:20210209
2021-02-09
授权
状态信息
授权
摘要
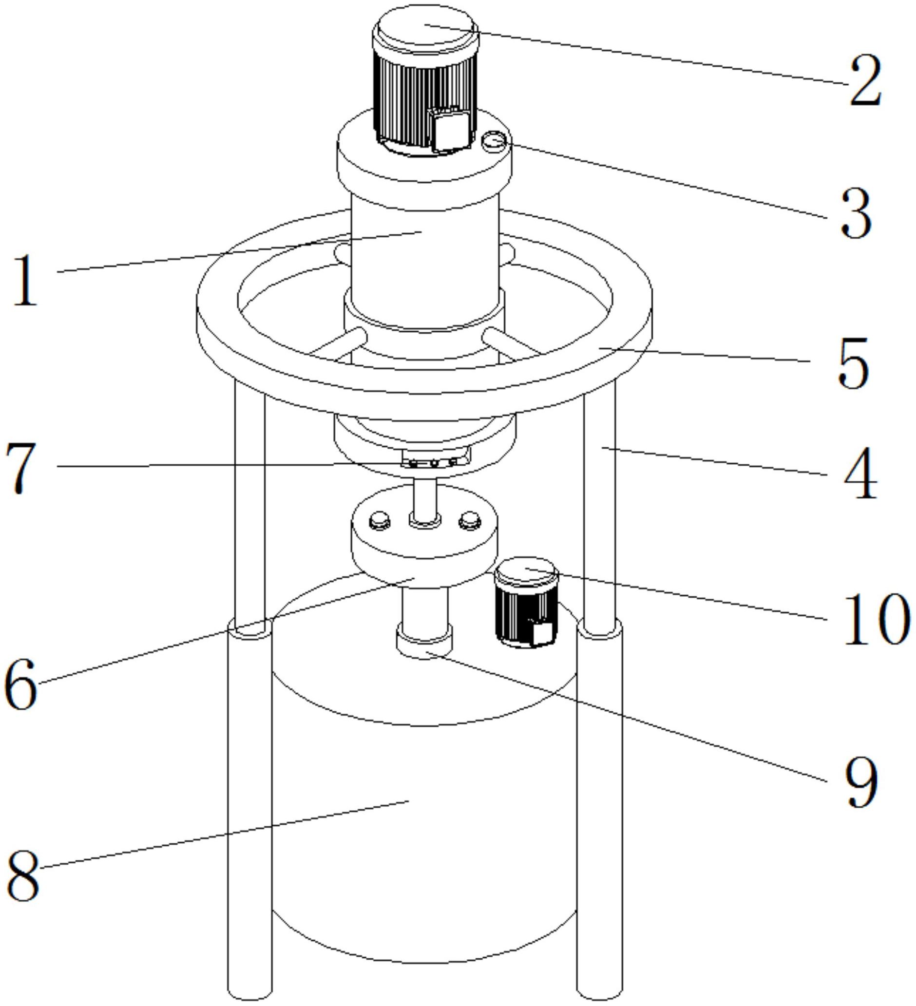
本实用新型公开了一种高精密涂料生产研磨装置,包括打碎桶,所述打碎桶的上端固定安装有电机一,所述电机一的右侧位于打碎桶的上端固定设置有进料口,所述打碎桶的外侧固定安装有支撑杆,所述支撑杆的上端固定安装有固定环,所述固定环的连接杆固定连接打碎桶,所述打碎桶的下侧固定安装有加热器,所述加热器的上侧位于打碎桶的外端固定安装有散热器,所述加热器的下侧固定安装有研磨桶,所述研磨桶的上端固定安装有限位环,所述限位环的右侧位于研磨桶的上端固定安装有电机二。该高精密涂料生产研磨装置研磨质量高,工作效果好,结构布局合理,大大节省了装置的占用空间,同时在打碎桶外端安装散热器防止温度过高带来危险。


