授权公布号:CN212492709U
一种涂料加工用多级混合装置
有效
申请
2020-05-08
申请公布
1970-01-01
授权
2021-02-09
预估到期
2030-05-08
| 申请号 | CN202020745843.5 |
| 申请日 | 2020-05-08 |
| 授权公布号 | CN212492709U |
| 授权公告日 | 2021-02-09 |
| 分类号 | B01F13/10; |
| 分类 | 一般的物理或化学的方法或装置; |
| 申请人名称 | 安徽好思家涂料股份有限公司 |
| 申请人地址 | 安徽省蚌埠市秦集镇秦仁路中段 |
专利法律状态
2023-09-26
专利权质押合同登记的生效、变更及注销
状态信息
专利权质押合同登记的注销;IPC(主分类):B01F 13/10;授权公告日:20210209;申请日:20200508;专利号:ZL2020207458435;登记号:Y2022980017204;出质人:安徽好思家涂料股份有限公司;质权人:蚌埠科技融资担保有限公司;解除日:20230908
2022-10-25
专利权质押合同登记的生效、变更及注销
状态信息
专利权质押合同登记的生效;IPC(主分类):B01F13/10;登记号:Y2022980017204;登记生效日:20220930;出质人:安徽好思家涂料股份有限公司;质权人:蚌埠科技融资担保有限公司;实用新型名称:一种涂料加工用多级混合装置;申请日:20200508;授权公告日:20210209
2021-02-09
授权
状态信息
授权
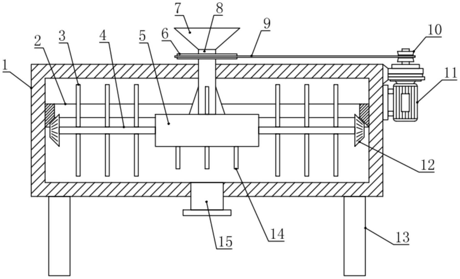
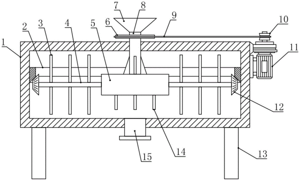
摘要
本实用新型涉及涂料加工领域,具体是一种涂料加工用多级混合装置,包括机体,所述机体的顶部中间转动安装有导料管,机体的外侧设有用于驱动导料管旋转的驱动机构,导料管的下端安装固定有混合座,混合座的外侧周向分布安装有多根转动轴,转动轴上安装有若干第一搅拌杆,转动轴的外端安装固定有锥齿轮,机体的腔壁上还固定设有与锥齿轮啮合连接的齿圈,混合座的内腔为初混腔,且初混腔内于转动轴的端部安装固定有第二搅拌杆,混合座的底部还安装有若干与初混腔连通的搅拌管。本实用新型结构设置合理,能进行较好效果和效率的多级混合,提升涂料的加工质量。


